Установка балясин на деревянную лестницу своими руками
Ни один частный дом в два и более этажа не может обойтись без лестниц. Требований к таким конструкциям — немало. И одно из ключевых — безопасность в использовании, особенно в том случае, если в доме проживают маленькие дети. С целью сделать лестницу максимально комфортной и безопасной в эксплуатации, а также чтобы придать ей более эстетичный внешний вид, на нее устанавливаются балясины.

Установка балясин на деревянную лестницу своими руками
В настоящей публикации будет рассмотрена установка балясин на деревянную лестницу своими руками. В связи с тем, что существуют различные способы монтажа этих элементов, из представленной ниже информации можно будет выбрать наиболее подходящий для конкретного случая вариант.
Содержание статьи
Что же это такое — балясины?
Для начала, возможно, в целях расширения кругозора, имеет смысл разобраться, что такое балясины, и где их применяют, кроме как для обрамления лестничных маршей. Возможно, эта информация сможет пригодиться при оформлении других областей частного дома.
Итак, балясинами называют небольшие по высоте стойки, которые могут иметь различные формы и толщину. Их изготавливают из разнообразных материалов и применяют в различных областях здания, в зависимости от стиля его оформления.
Интересно, что балясины используются со времен строительства дворцов ассирийских правителей и до сегодняшних дней, практически в первозданном виде. С изменением архитектурных стилей, эти элементы меняли форму, мастера применяли различные материалы для их изготовления. Но при этом не меняется их предназначение, а также прежняя востребованность в строительстве.
Так, ряд балясин формирует балюстраду, которая широко использовалась с древних времен. Причем не только при ограждении лестниц, но и для поддержки свесов крыш. В последних вариантах балясины имели весьма внушительные размеры и устанавливались от основания фасада до крыши. Кроме того, балясины, установленные на фасадах, выполняли и декоративные функции, задавая стиль оформления экстерьера строения.
В последние годы, с возвращением таких архитектурных стилей, как русский классицизм, барокко и ампир, вновь возвращаются в широкое применение элементы, являющиеся их неотъемлемой этих направлений. И балясины — в их числе.

Балюстрады часто можно увидеть в качестве ограждения не только лестниц, но и балконов, террас, а также крыш, где их устанавливают вдоль карнизов.
Разнообразие балясин по материалу изготовления
Если ранее подобные архитектурные элементы изготавливались из камня, древесины или глины, а позднее их стали производить из бетона, гипса и металла, то сегодня к этим материалам добавились и полимеры (чаще всего это — полиуретан). И для того чтобы разобраться, чем отличаются стойки между собой, и какие из них могут быть использованы на деревянной лестнице, необходимо рассмотреть их более подробно.
Гипсовые и бетонные балясины
Балясины из бетона и гипса можно объединить в одну группу, так как они изготавливаются по одинаковой технологии. Эти виды фигурных стоек являются классическим вариантом, сегодня их в основном используют для различных зон наружного оформления строения — это могут быть ограждение балконов, террас, лестниц, а также карнизные линии плоских крыш.

Гипсовые или бетонные балясины могут изготавливаться по отдельности, или же даже сразу секционно
Остовом для балясин из бетона или гипса служит арматурный каркас. Он закладывается в специальную форму, в которую затем заливается раствор. После извлечения из форм готовых изделий, их, при необходимости, отправляют на процесс шлифовки.

Формы для отливки балясин – штучных или блочных
В завершенном виде «классическая» балясина приобретает форму вытянутого вазона, перехваченного в узком месте кольцом. Создание этой наиболее распространенной формы лестничных стоек приписывают знаменитому итальянскому ученому, художнику и архитектору Микеланджело.
Если отлитые балясины предназначены для эксплуатации в условиях улицы, то их пропитываются специальными составами и, при необходимости, окрашивают.
Ранее подобные элементы балюстрад и ограждений лестничных маршей изготавливались, как отдельные изделия, их которых встраивалась общая композиция. В наше время достаточно часто секции выливаются целиком, а уже из них собирается вся конструкция ограждения. Причем, секции могут быть прямыми, изогнутыми под разным углом или полукруглыми, в зависимости от формы площадки лестницы или балкона, которую они должны ограждать. Чтобы секции были точно подогнаны под предназначенный для них участок, их чаще всего изготавливают под заказ, со снятием необходимых мерок.
Недостатком данных конструкций является их достаточно высокая цена, а также весьма немалая масса изделий. Поэтому как единичные балясины их гипса или бетона, так и секции из них практически никогда не используют для ограждения деревянных лестниц.
Читайте также интересную статью на нашем портале — «Как оформить пространство под лестницей».
Каменные балясины
Самыми долговечными, но и самими дорогими по цене являются каменные балясины. Они могут быть изготовлены двумя способами. Первый — это вытачиванием изделий из цельных или отдельных кусков камня, из которых затем вручную собирается балясина. Другой вариант — это балясины, изготовленные из искусственного камня. Их, по аналогии с бетонными, производят методом литья. Для этого специальный раствор заливается в подготовленные формы. Раствор состоит из каменной крошки, песка, цемента, мелкого гравия, а также красителя. В качестве армирующего средства в последнее время чаще всего используется стекловолокно.

Красивые, долговечные, но очень дорогие и к тому же — мало подходящие к деревянным лестницам каменные балясины
Балясины из натурального или искусственного камня чаще всего используются для лестниц или фасадов, облицованных тем же материалом. Они для таких участков подходят идеально и добавляют внешнему виду здания особую респектабельность. На деревянные лестницы каменные балясины не устанавливаются: во-первых, из-за достаточно большого веса, а во-вторых, потому, что камень и дерево все же не очень хорошо гармонируют между собой.
В отличие от бетонных и гипсовых, каменные изделия могут иметь более широкий ассортимент разнообразных форм.
Металлические балясины
Металлические стойки для ограждения лестниц и других зон здания производятся методом ковки, литья или сварки. Их обычно изготавливают на заказ для конкретного места установки, по заранее составленному эскизу и точным расчетам.
Согласитесь, очень оригинально и «богато» смотрятся такие кованые балясины. Кстати, они отлично подойдут и для широкой деревянной лестницы.
Металлические балюстрады, в отличие от остальных изделий, применяют для ограждения не только лестниц и других площадок дома, но и для окон — в качестве защитно-декоративных решеток. Причем для этой цели подойдут изделия, изготовленные любым из трех перечисленных способов.
Металлические балясины могут иметь различные формы, и быть объемными или плоскими. Последний вариант можно встретить в многоэтажных домах, выстроенных в дореволюционной России.
Металлические балясины, выполненные из тонких элементов, вполне могут быть использованы в комплексе с деревянной лестницей. При правильном, не избыточном сочетании и соразмерности деталей дерево и металл отлично гармонируют между собой.
Полиуретановые балясины
Полиуретановые балясины отличаются небольшим весом и им могут придаваться абсолютно любые формы. Кроме того, их цена куда как доступнее, в отличие от всех выше названных вариантов. Изделия производятся из полимера высокой плотности и не боятся механических нагрузок.

Небольшая масса, практичность, гигиеничность, возможность создания форм любой степени сложности – достоинства полиуретановых изделий
Такие балясины состоят из оболочки, произведенной из полиуретана, и опорного остова, в качестве которого выступает металлический стержень, который придает изделию определенный вес, делая изделие более устойчивым. Кроме того, стержень, заложенный в полиуретановый корпус, имеет в своих торцевых сторонах отверстия или монтажные площадки для крепления балясин к основе и перилам. Благодаря тому, что этот вид изделий имеет небольшой вес и может быть задекорирован под любой материал, его можно использовать для монтажа как на каменные, так и на деревянные лестницы.
Интересно и то, что полиуретановые изделия могут очень достоверно имитировать практически любой из выше названных материалов.
Узнайте, как отделать бетонную лестницу деревом и как это выполнить самостоятельно, из новой статьи на нашем портале.
Деревянные балясины
Балясины, изготовленные из натурального дерева, являются традиционными для русских архитектурных стилей. Они могут быть изготовлены в виде объемных или плоских рельефных элементов. Объемные изделия вытачиваются из обработанного кругляка, а плоские балясины выпиливаются из доски разной толщины и ширины. Поэтому различные варианты таких изделий могут существенно отличаться способом монтажа и крепления.

Плоские деревянные фигурные балясины: каждая из них аккуратно вырезана из цельной доски
На фасадах частных домов, выстроенных из дерева, часто можно увидеть балюстрады, используемые в качестве ограждения балконов, состоящие из таких фигурных столбиков. При наличии в личной мастерской токарного станка, их вполне можно изготовить самостоятельно.
Плоские же балясины тоже можно выпилить своими руками из качественных досок, используя, например, электрический лобзик. Ну а затем, набравшись терпения, придется обработать их края до идеальной гладкости.
Правильно изготовленные и обработанные деревянные ограждения прослужат, наверное, не меньше, чем камень или другой названный выше материал. Конечно же, для деревянной лестницы лучше всего подойдут балясины, также изготовленные из дерева. Они отлично сочетаются по весу, фактуре и по возможным дизайнерским решениям, открывая широкие возможности для проявления фантазии хозяев дома.
Конструкция лестницы и способы крепления балясин
Место балясин в лестничной конструкции
Имеет смысл рассмотреть общую лестничную конструкцию и ознакомиться с названием деталей, из которых она состоит. Кроме того, необходимо выбрать вариант установки и закрепления стоек ограждающей конструкции.
Основные элементы деревянной межэтажной лестницы показаны на иллюстрации:

Примерное устройство обычной деревянной домашней лестницы, без особых изысков
При составлении чертежа для сооружения лестницы, а также при изучении описания монтажных работ по ее обустройству, можно будет обращаться к данной схеме, так как на ней указано месторасположение и название всех основных деталей конструкции.
Итак, балясины могут быть установлены на края поверхностей ступеней или же на тетиву.
На верхнем рисунке показана лестница, в конструкции которой балясины установлены на ступени. В данном случае, ширина ступеней позволяет установить на их края по два деревянных таких оградительных декоративных столбика. В этом случае верхний край балясин подрезается под таким же углом, под которым установлен лестничный пролет.

Балясины, установленные на тетиву лестницы – это позволяет избежать ненужного сужения лестничных ступеней
В случае если тетива лестничной конструкции имеет большую ширину, достаточную для размера основания балясин, то они могут быть установлены и на нее, в целях сохранения ширины лестничного пролета. Однако, этот вариант монтажа можно назвать более сложным, так как подрезать под нужный угол придется не только верхнюю, но и нижнюю сторону балясин. Понятно, что нижний край должен будет соответствовать наклону тетивы.

Принцип установки балясин на тетиве лестницы
На этой схеме представлен принцип установки и крепление балясин на тетиву. Если выбраны деревянные балясины, то их срезают под углом установки лестничного пролета. Если же выбран полиуретановый или металлический вариант стоек, а установка их предполагается на тетиву, то на ней для балясин придется обустроить своеобразные ступеньки-подставки. Горизонтальная поверхность таких ступенек должна быть параллельна полу помещения.
Однако, в связи с тем, что самыми используемыми для деревянных лестниц все же являются балясины, изготовленные из натуральной древесины, далее будут рассматриваться варианты именно их монтажа.
Крепление балясин к ступеням или тетиве необходимо осуществлять с помощью шкантов, шпилек или саморезов. Не рекомендуется производить фиксацию подпорных элементов гвоздями, так как в этом случае, надежность и безопасность конструкции гарантировать сложно. Учитывая то, что лестница постоянно испытывает механические и вибрационные нагрузки, гвозди быстро расширят отверстие, через которое они вбиты в древесину, в результате чего не исключается вероятность, что конструкция ограждения лестницы быстро расшатается и станет весьма ненадежной.
Варианты крепления балясин на шпильки
С помощью шпилек крепление балясин к поверхности можно осуществлять несколькими способами. При этом используют или гладкие шпильки, или имеющие резьбу.
- Для того чтобы закрепить балясины на гладкие шпильки, в торцевой части стоек производится разметка, так как отверстие должно быть просверлено точно в центре основания изделия. Затем, в найденной точке высверливается отверстие глубиной не более 80 мм, диаметром в 8÷10 мм.

Сверление отверстия в торце балясины для установки шпильки. Оно должно расположиться точно по центру сечения
Диаметр отверстия выбирается в зависимости от размера торца балясины и, конечно, от диаметра шпильки. Оно должно получиться примерно на 1 миллиметр больше. Высверливаться оно должно очень аккуратно, иначе деревянное изделие может дать трещину. Чтобы этого не произошло, сначала отверстие рекомендуется высверлить сверлом диаметром в 5 мм, а затем расширить его до необходимого размера.
Чтобы шпилька плотно встала в свое посадочное гнездо, в него заливается столярный клей, а конец шпильки на длину 50÷60 мм не только обрабатывается клеевым составом, но и может быть обсыпан мелкими опилками. После того как шпилька будет подготовлена, ее вкручивающими движениями вставляют в отверстие торца балясины. Снаружи должна остаться ее часть длиной в 70÷80 мм. Излишний, выступивший клей сразу же удаляется, иначе после застывания он будет мешать установке балясины на ступень или тетиву лестничной конструкции.
- Другим вариантом использование шпилек, в качестве крепления, является их вкручивание. В этом случае, выбираются шпильки, имеющие резьбу с двух концов: с одной стороны метрическую, со второй – по типу шурупа.

Вот такие шпильки с разным типом резьбы отлично подойдут для установки балясин
Для того чтобы вкрутить такую шпильку в торец балясины, в нем просверливается отверстие диаметром на 1÷2 мм меньше резьбы крепежного элемента. Перед вкручиванием отверстие также заполняется клеем, и шпилька вкручивается в него заостренным концом. Для вкручивания на метрическую резьбу наживляются и законтриваются две — три гайки, и вкручивание будет несложно провести обычным торцевым ключом

Вкручивание шпильки ключом через законтрованные гайки
Чтобы второй конец шпильки надежно удерживался в ступени или тетиве, можно поступить так. В их поверхности высверливается отверстие такого же диаметра, что и в торце балясины, а затем его верхняя часть расширяется для вклеивания одной или нескольких гаек, которые должны быть утоплены заподлицо с основной поверхностью.

Шпилька на балясине будет вкручиваться в утопленные и посаженные на клей гайки
Установку балясин на место можно производить только после полного просыхания клея вокруг гайки. Перед вкручиванием балясины на место, отверстие необходимо будет заполнить клеем.
- Используя шпильку с резьбой и гайку, можно поступить и по-другому, но только если балясина будет закрепляться на ступень, имеющую небольшую толщину. В этом варианте в ступени просверливается сквозное отверстие, в которое вставляется шпилька, вклеенная в балясину. Затем, с нижней стороны ступени на шпильку надевается шайба соответствующего размера, после чего на резьбу закручивается гайка, которая прижмет балясину к ступени. В этом варианте рекомендуется перед установкой балясины на ступень, всю ее торцевую сторону вокруг установленной шпильки промазать столярным клеем.

Выступающий конец вкрученной или вклеенной шпильки может иметь специальную крупную резьбу по типу шурупа или самореза. Это значительно упрощает монтаж стоек лестничного ограждения
- Следующим вариантом установки балясины можно считать использование шпильки, внешний, вступающий из торца конец которой также представляют собой подобие толстого шурупа. Установка заключается в прямом вкручивании шпильки в доску ступени, с предварительной промазкой торцевой части балясины столярным клеем.

Нередко балясины сразу поступают в продажу с уже вклеенными в них шпильками с шурупообразным наконечником. Остается только наметить и высверлить отверстия в ступенях лестницы
Установка балясин на деревянные шканты
Теперь стоит рассмотреть закрепление деревянных балясин на шканты. Этот метод считается, кстати, традиционным для монтажа лестниц. Шканты просты в применении, а кроме того, их вполне можно изготовить самостоятельно. Впрочем, и купить в магазине мебельной фурнитуры их несложно, так как стоимость их – совсем невелика.

Традиционным способом установки балясин является их монтаж на шканты
Для этого процесса потребуются только сами шканты необходимой длины и диаметра, а также столярный клей. Диаметр шканта может составлять от 8 до 12 мм, а длина 100÷120 мм. Для установки шканта в центре торца балясины размечается и высверливается отверстие больше размера шканта по диаметру на 1÷2 мм и глубиной примерно в половину длины этого крепежного стержня. Затем, отверстие заполняется клеем и в него вставляется шкант. Прежде чем продолжить работу, клею надо дать хорошо высохнуть. Его излишек, выступивший на поверхность, обязательно убирается сразу после вклеивания детали. Важно вклеить шкант точно вертикально, иначе балясина будет установлена на лестницу криво.
Чтобы закрепить балясину на тетиве или ступени, в них размечается точки их установки, которые должны быть расположены по одной линии. В найденных точках высверливаются отверстия для шкантов. Когда клей на балясинах высохнет, их торец промазывается слоем того же клея, он же заливается в отверстие на ступени или тетиве, а затем шкант плотно вставляется в отверстие. После этого балясину необходимо хорошо зафиксировать, до застывания клея. Одновременно производится выравнивание стоек, которое контролируется с помощью строительного уровня.
Крепление балясин саморезами
Самым простым и доступным для любого мастера способом закрепить балясины, как на тетиве, так и на ступенях, является их фиксация на саморезы длиной 80÷100 мм.

Не доставит особых проблем установка балясин с использованием саморезов. Шляпки крепежа после установки балюстрады маскируются шпатлёвкой по дереву
Этот вид креплений нельзя назвать традиционным, однако, он вполне оправдывает ожидания на надежное и прочное крепление. Саморез вкручивается через балясину в тетиву или ступень с боковой стороны, наискось, в заранее просверленное для него отверстие меньшего диаметра, чем сам крепежный элемент. Так как шляпка самореза должны быть утоплена в древесину, для нее, в верхней части отверстие расширяется (зенкуется). После того, как саморез будет вкручен в древесину, шляпка скроется в подготовленном для нее гнезде, отверстия маскируется шпаклевкой по дереву подходящего цвета.

Понятно, что саморезы подбираются такой длины, чтобы они не прошили насквозь поручни лестницы
К поручням балясины могут быть также зафиксированы саморезами. Но для этой цели обычно выбираются крепежные элементы меньшей длины, так как они ни в коем случае не должны пройти насквозь перила. Шляпка самореза точно так же также заглубляется в раззенкованное гнездо, а затем маскируется шпатлевкой.
Процесс установки деревянной балюстрады на лестницу — пошагово
Теперь, разобравшись со способами закрепления балясин, можно перейти к рассмотрению этапов выполнения монтажных работ по сборке лестничного ограждения в целом.
В расположенной ниже таблице-инструкции будет представлен один из вариантов сборки балюстрады лестницы. Однако, необходимо отметить, что данный способ — не единственный, так как каждый мастер работает по собственному, наработанному годами шаблону.
| Иллюстрация | Краткое описание выполняемой операции |
|---|---|
| Итак, после того как ступени лестницы будут смонтированы, производится разметка их краевой области. Определяется линия установки опорных столбов и балясин. Для разметки потребуется ровная металлическая или деревянная планка, имеющая длину, равную длине лестничного пролета, металлическая линейка, карандаш и строительный угольник. Можно, кстати, использовать оцинкованный профиль, который применяется для монтажа гипсокартонных конструкций. Профиль или планка укладывается по краю ступеней, примерно на одном расстоянии от края. Затем, вымеряется точное расстояние от края до планки по всей ширине ступени, и по найденным точкам чертится линия. Таким образом, производится разметка всех ступеней. В завершении процесса все линии на ступенях должны совпасть с общей планкой. | |
| Следующим шагом определяются места закрепления опорных столбов, между которыми будут закрепляться балясины. Столбы должны иметь размер в сечении больше чем балясины, примерно в два раза. Например, если балясины имеют размер 50×50 мм, то столбы должны иметь сечение как минимум 80×80, а лучше 100×100 мм. Для закрепления опорных столбов можно использовать шпильку, винт или шкант. Если столб устанавливается на деревянную поверхность, длина крепежного элемента должна составлять 100 мм, а диаметр 8÷10 мм. В данном случае используются вот такие болты с конической резьбой по типу шурупа. | |
| В показываемом примере верхняя площадка, на которую опирается лестница, обустроена из бетона. Поэтому, рассчитывая план действий заранее, в бетон на краю площадки была вмонтирована так называемая закладная — это металлическая пластина, размером 80×80 или 100×100 мм и толщиной не менее 4÷5 мм. Сверху пластины, строго вертикально, приваривается упомянутый болт-шуруп длиной в 100 мм и диаметром в 8 мм. | |
| В нижней торцевой части опорного столба высверливается отверстие, соответствующее диаметру приваренного болта. Затем, столб просто накручивается на приваренный к закладной резьбовой штырь. Чтобы столб был плотно прижат к поверхности пола, нижнюю часть просверленного отверстия можно немного расширить. | |
| Если же опорный столб устанавливается на дощатую поверхность, то в ней, так же, как и в торце столба высверливается отверстие для крепежной детали, по заранее сделанной разметке. | |
| Столб может быть закреплен на горизонтальной поверхности с помощью такого же болта. Для этого придется в деревянной поверхности лестницы высверлить сквозное отверстие, а затем завести крепёжную деталь снизу, предварительно надев на нее широкую металлическую шайбу. Можно зафиксировать столб шкантом, вклеив его в торец столба, а затем в отверстие ступени, или же шпилькой, вкрутив ее сначала в торец столба, а затем в доску ступени. Словом, любым из тех способов, о которых шла речь выше., какой покажется удобнее. | |
| Обычно нижний в лестничном пролете опорный столб, монтируется на последней ступени и прижимается к подступени предыдущей ступени, что дает ему некоторую дополнительную жесткость. | |
| Устанавливая опорные столбы, необходимо следить, чтобы они не только были идеально вертикальны, но и находились на одной линии, иначе перила лестницы установятся криво или же совсем не смогут встать на определенное для них место. | |
| Установив опорные столбы, можно переходить к определению точек монтажа балясин. Для этой процедуры потребуется строительный уголок и линейка. Если ступени имеют достаточно большую ширину, то на каждую из них лучше всего закрепить по две балясины. Все элементы балюстрады должны быть расположены на одинаковом расстоянии друг от друга. Обычно, при установке на каждой ступени двух балясин, расстояние между ними составляет 70÷80 мм. Разметки точного места расположения производится по ранее намеченной общей линии. | |
| После того как будут определены точки установки балясин, в них просверливаются сквозные отверстия, через которые стойки будут закреплены на ступенях. Если выбран вариант крепления с помощью шкантов или шпилек, то прежде чем заниматься вклеиванием в балясины крепежных элементов, половину стоек необходимо будет несколько укоротить, чтобы они были установлены точно под поручень. Таким образом, первая балясина ступени остается первоначальной высоты, а вторая, расположенная ближе к нижней ступени, укорачивается примерно на половину высоты ступеньки. В каждом конкретном случае, срезаемая часть будет иметь свой размер, в зависимости от ширины и высоты ступени. | |
| Балясины могут крепиться к ступеням любым из вышеописанных способов или же, как в данном случае, с помощью болта-шурупа, вкручиваемого снизу через сквозное отверстие в доске ступени в отверстие, высверленное в нижнем торце балясины. На болт надевается металлическая шайба, затем он вставляется снизу ступени в отверстие и вкручивается с помощью торцевого ключа-трещотки через доску в отверстие, высверленное в торце балясины. Для этой цели подойдет шуруп длиной в 80 мм и диаметром в 6 мм. | |
| Когда все балясины будут закреплены на ступенях, на них закрепляется ровная планка-направляющая, так, чтобы она проходила через верхние углы балясин. Планка может быть закреплена с помощью струбцин. После этого, по направляющей, на каждой из балясин, карандашом проводится линия будущего спила. Кроме этого, также на направляющей, отмечается вертикально месторасположения каждой из стоек. Балясины необходимо пронумеровать, чтобы не было путаницы при дальнейшей сборке конструкции. | |
| После этого балясины аккуратно откручиваются и снимаются со ступеней. В центре их торцевой верхней части просверливаются отверстия диаметром в 5 мм. Затем с помощью торцевой пилы по отмеченным линиям делаются срезы. Следующим шагом балясины, согласно нумерации, необходимо вернуть на прежнее место и закрепить их на направляющей по заранее сделанным линиям разметки. | |
| Теперь можно переходить к работе над перилами. Первое, что необходимо сделать —определить угол среза торцов этой детали, так как ими она должна стыковаться с опорными стойками. Для этой цели можно использовать такой инструмент, как малка. Опытные столяры советуют просто не менять, установленный на пиле угол для запила балясин. Перед тем как сделать срезы, необходимо точно определить длину перил. Для этого их укладывают на край ступеней, от опорного верхнего до нижнего столба и карандашом отмечают их точную длину с учетом косого среза. Ширина перила должна быть равна ширине опорных столбов. | |
| После этого по разметкам производятся косые срезы перильных брусьев. Далее срезанные торцевые стороны необходимо тщательно зачистить с помощью наждачной бумаги. | |
| Теперь на брусе перила, по всей его длине, необходимо вырезать паз, ширина которого должна быть равна ширине балясин. Глубина паза должна составлять 7÷8 мм. Паз должен находиться в средней части бруса, то есть его делают, отступив от краев 12÷15 мм. Для выборки такого паза, безусловно, никак не обойтись без ручного или стационарного фрезерного станка. | |
| Для надежного закрепления перила, дополнительно потребуется деревянная подперильная планка толщиной в 8÷10 мм и шириной, равной ширине вырезанного в перилах паза. Подперильная планка прикручивается саморезами к верхним торцам балясин, пока они скреплены направляющей рейкой. Планка заменит последнюю, и зафиксирует стойки в необходимом положении. После того как она будет закреплена, временную направляющую можно будет демонтировать. | |
| Сверху планки укладываются перила и прикручиваются к ней снизу с помощью саморезов. | |
| Дополнительно, перила, где бы они ни были установлены, фиксируются длинными саморезами к опорным столбам. Для этого с внешней стороны столба высверливается сквозное отверстие диаметром в 5 мм. Вначале отверстие расширяется так, чтобы саморез ушел вглубь древесины, примерно, на 20 мм, прошел столб насквозь и был вкручен в торец перила на 30÷40 мм. Длина самореза рассчитывается в зависимости от размера опорного столба. |
Дополнительно необходимо напомнить, что при установке балясин на их постоянное место на любое крепление, рекомендуется их торцевые поверхности промазывать столярным клеем. То же самое лучше всего сделать, монтируя подперильную планку, а также сами перила. Клей, застывая, упрочнит конструкцию и сделает ее более долговечной.
Построить лестницу своими руками — не так-то просто, как может показаться на первый взгляд. Чтобы получить прочную и надежную конструкцию, в первую очередь необходимо провести точные расчеты, учитывая высоту подъёма, свободное пространство, которое ей может быть отведено, эргономические критерии и даже рост и вес обитателей дома. В данных расчетах важен каждый параметр, начиная от толщины и ширины ступеней, и заканчивая сечением и высотой балясин, а также других деталей конструкции. Поэтому, чтобы лестничная конструкция получилась безопасной и надежной в эксплуатации, ее расчет лучше всего доверить специалистам. И если планируется построить лестницу полностью самостоятельно, то необходимо будет точно следовать составленному чертежу, соблюдая все указанные в нем размеры.
Видео: Завершающий этап монтажа домашней межэтажной деревянной лестницы – установка опорных столбов, балясин и перил
stroyday.ru
Деревянные балясины для лестниц: виды и особенности

Перила на деревянной лестнице
Современные коттеджи и частные дома часто имеют два этажа, что требует установки в них лестницы. Настоящим украшением конструкции могут стать балясины, представляющие собой небольшие колонны, которые поддерживают перила. Для их изготовления используются разные материалы: камень, бетон, металл, но особое место занимают деревянные балясины для лестниц.
Они придают дизайну ограждения нужную эстетику. А какие бывают виды элементов и способы их монтажа, подскажет статья.
Содержание статьи
Особенности стоек

Плоские балясины разной формы
Деревянная балясина — это опорная стойка, входящая в ограждение для лестницы, выточенная из дерева, имеющая вид небольшого столбика, который напоминает колонну.
Эта неотъемлемая часть ограждений выполняет несколько функций. К ним относятся:
- Безопасность и удобство при передвижении по лестнице;
- Ограждение и придание конструкции завершенного вида;
- Создание декоративного внешнего вида и определенного стиля лестницы;
- Выполняют роль опор для поручней, обеспечивающих безопасность при подъеме и спуске по лестницы.
Помимо этого, такие элементы, при установке их по всей длине конструкции, придают ограждению дополнительную жесткость.
В таблице представлены основные плюсы и минусы элементов:
| Преимущества | Недостатки |
|
|
Выбор древесины
Прежде чем изготавливать лестницы и балясины из дерева, следует познакомиться с особенностями древесины, используемой для их изготовления.
Наиболее популярные представлены в таблице:
| Вид древесины | Особенности |
![]() Благородный дуб | Эта порода дерева отличается высокой прочностью, отлично переносит колебания температуры, высокую влажность. Но цена материала с такими параметрами довольно высокая. |
![]() Сосна | Балясины для лестниц деревянные из сосны изготавливаются чаще всего для загородных коттеджей. Такие изделия хорошо приспособлены к перепадам температуры, а стоимость их сравнительно невысокая. |
![]() Ясень | По прочность и пластичности материал уступает дубу. Но основная его особенность — большое разнообразие цветов, что зависит от самых разных факторов, например, таких как метод сушки и прочего. Главное его преимущество — натуральная окраска. |
![]() Лиственница | Деревянные лестницы, столбы и балясины из лиственницы — универсальный вариант. Изделия отличаются прочностью, долговечностью, имеют хорошие антисептические свойства, предохраняющие конструкции от гниения. Помимо этого, материал плохо горит, что немаловажно для деталей лестниц. |
![]() Бук | Материал довольно прочный, но уступает дубу. Самое главное его достоинство — легко обрабатывается: шлифуется, тонируется. Но для получения древесины бука высокого качества необходимо строго соблюдать технологию его сушки. |
![]() Ступени и балясины для деревянной лестницы из березы | Деревянные лестницы, балясины и столбы из березы изготавливаются реже всего. Изделия из нее не слишком прочные, материал имеет низкую плотность, склонен к гниению и растрескиванию, что даже при хорошей обработке, уменьшает срок эксплуатации изделий. Достоинства такой породы древесины: легкость в обработке; возможность придать изделию вид ценной породы дерева, при правильном нанесении на него краски и лака. |
Виды балясин из дерева
Чтобы балясины для лестницы из дерева смотрелись красиво и соответствовали выбранному стилю, стоит познакомиться с методами их изготовления, представленными в таблице:
| Способ получения детали | Особенности процесса |
![]() Точение | Для изготовления деталей используются простые токарные станки. Часто, такие деревянные столбы лестницы – балясины, имеют поперечную или продольную резку. |
![]() Резные балясины из дерева для лестницы | Для изготовления деталей используются станки с ЧПУ. Выполнить резные балясины очень сложно и дорого, но при использовании современного оборудования, они приобретают большую доступность. Резная балясина для лестницы из дерева прекрасно выполняет свои функциональные свойства. |
![]() Фрезеровка | Такой процесс обработки балясин имеет много способов нарезки. Детали могут иметь вид закрученного тела, например, спирали, как на фото, или волны. |
![]() Плоская вырезка деталей лобзиком | Это самые простые деревянные детали, которые легко изготовить своими руками. Для этого нужно:
|
Совет: Если принято решение самостоятельно изготовить деревянные балясины, перед точением деталей, древесину следует подготовить. Она должна быть средней влажности, без трещин, сучков, и других изъянов. Сухая древесина — очень хрупкая, а слишком влажная даст после обработки «пушистую» поверхность. Деревянные балясины для лестницы стоит изготавливать из дуба или более дешевой лиственницы.
Требования при установке балясин
Чтобы обеспечить безопасность конструкции, следует надежно закрепить все комплектующие для деревянной лестницы, балясины, независимо от материала их изготовления и формы, должно подчиняться общим правилам изготовления модели.
К ним относятся:
- Для безопасности конструкции между центрами соседних опор должно быть расстояние, примерно 150 мм. Это особенно важно, когда в доме проживают или часто приходят в гости маленькие дети;
- Для большинства пользователей комфортной считается высота опоры в пределах 800 — 1000 мм;
- Крепление каждой опоры обязательно должно быть в двух точках: вверху и внизу.
Толщина или площадь сечения балясины не играет решающей роли в обеспечении безопасности конструкции, так как несущей функции этот элемент не выполняет, ее выбирают обычно в зависимости от стиля и дизайна лестницы, и интерьера помещения.
Факторы, влияющие на цену деталей
На стоимость лестницы, балясины из дерева, оказывают влияние несколько факторов.
Это могут быть:
- Порода дерева, выбранная для изготовления элементов конструкции. Самые дорогие — изделия из бука и дуба, а из сосны имеют достаточно низкую цену;
- Способ обработки деталей. Ручная работа ценится значительно выше, чем изделия, изготовленные точением на станке;
- Дизайн. Лестницы и балясины деревянные с большим количеством элементов сложных профилей и богатым декором стоят дороже, чем простые изделия.
Стоит иметь ввиду, что полностью изготовленная конструкция из дерева, имеет меньшую цену, чем деревянная лестница с коваными балясинами или бетонными элементами лестничных ограждений.
Изготовление деревянных балясин
Для самостоятельного изготовления элементов ограждения на токарном станке, необходимо иметь определенный опыт выполнения работ. В процессе изготовления балясин следует пройти несколько этапов.
К ним относятся:
- Определение породы дерева для балясины. Самые популярные: дуб, сосна или береза. Оптимальный вариант лестницы из дерева — столбы и балясины из аналогичного материала;
- Учитываются габариты балясины для лестниц из дерева — размеры ее зависят от высоты ограждения и сечения столбиков;
- В зависимости от того, какие будут размеры балясины для лестницы из дерева, подбирается доска для раскроя заготовок, имеющих вид квадратных столбиков.
Совет: Необходимо иметь ввиду, что сечение заготовки выбирается более 40 х 40 мм, а годовые линии на брусках должны располагаться в противоположных направлениях.
- Проектирование детали. При этом определяются:
- Форма орнамента для вырезки детали.
- Высота балясины — это расстояние между перилами и ступенькой лестницы. Обычно она составляет 650 — 1000 мм.
После выбора формы и орнамента разрабатывается чертеж со всеми размерами;
- Точение. Для этого:
- Заготовка фиксируется по центру, чтобы избежать получения кривой и неказистой детали.
- Если заготовкой будет брусок, необходимо с его торцов начертить диагонали, а точки их пересечения будут центром. Сделать в этих местах небольшие углубления и закрепить на токарном станке.
- Подбирается специальный фасонный резец.
- Выполняется точение. Для изготовления детали должна соблюдаться инструкция выполнения работ.
Установка балясин
Способ крепления деталей к несущим элементам конструкции, поручням и перилам зависит от материала, используемого для изготовления.
Основные требования при монтаже балясин:
- Расстояние между деталями на горизонтальных участках должно быть не больше 200 мм.
- На вертикальных участках должны устанавливаться на каждую ступень от одного до двух элементов.
Совет: Для продления срока службы и долговечности деревянных деталей, их нужно тщательно обработать специальными составами, создающими защиту от вредных воздействий окружающей среды. Для этого применяются краски, полностью скрывающие текстуру дерева, лазури, пропитки, морилки по дереву, сохраняющие видимую структуру древесины.
Деревянные балясины могут крепиться непосредственно к ступенькам, тетивам, косоурам или на специальной планке с пазом, размеры которого соответствуют сечению стоек.
Для этого используются специальные металлические метизы:
- Шпильки;
- Винты;
- Саморезы.
Совет: Надежное крепление деревянных опор к несущим конструкциям лестниц, следует выполнять только металлическими стягивающими шпильками. При этом нужно исключить в процессе эксплуатации вероятность ослабления крепежа.
Верхняя стойка крепится в подготовленный заранее в поручне паз, у которого размеры соответствуют сечению опор. Часто между поручнем и балясинами гвоздями с булавочной шляпкой и столярным клеем жестко крепится дополнительно фиксирующая планка.
Завершающим этапом является крепление балясин вверху, поручня и подперильной планки.
Чтобы узнать, как правильно изготавливать и крепить деревянные балясины, стоит познакомиться с видео в этой статье.
Ремонт и уход за деревянными балясинами

Деревянная лестница в своем доме
Выбирая деревянные ступени, балясины на лестницы, следует учитывать, что они нуждаются в постоянном уходе. Их требуется периодически протирать влажной ветошью и подкрашивать, чтобы сохранить привлекательный внешний вид.
Сложность ухода за такими элементами зависит от числа резных деталей, которые имеются на них. Чем меньше будет проточек, округлостей на опорах, тем проще за ними ухаживать.
После продолжительной эксплуатации конструкции, появляются различные повреждения, что требует проведения ремонта изделий. Например, от неосторожного обращения деталь может сломаться или станет шататься. Такие повреждения должны сразу устраняться, по соображениям безопасности передвижения по лестнице человека.
Если опора расшаталась, необходимо:
- Снизу, под углом 45°, вбить через балясину гвоздь в тетиву;
- Шляпка гвоздя должна быть утоплена;
- Образовавшееся отверстие заделывается шпатлевкой.
Если, из-за сильного удара, стойка растрескалась, ее нужно отремонтировать. Для этого:
- Трещина должна быть расчищена;
- Вносится немного клея;
- Место склейки обматывается малярным скотчем;
- В таком виде изделие остается, примерно, на 24 часа, чтобы клей хорошо схватился.
Если балясина сломалась, ее нужно будет заменить. Но сделать это не просто — трудно подобрать похожую по цвету и форме деталь для ограждения лестницы. Можно, например, сначала старую балясину попробовать склеить, а затем, после подготовки новой детали, демонтировать и заменить поломанную. Способ демонтажа, зависит от типа крепления опоры, иногда понадобится лишь вытащить гвозди.
Лестницы, балясины и перила из дерева прекрасно вписываются в интерьер любого помещения. Главное, при устройстве такой конструкции – обеспечить безопасность для передвижения по ней всех членов семьи.
olestnicah.ru
Плоские балясины из дерева своими руками чертежи
Деревянные балясины для лестницы

Балясины – это архитектурные элементы ограждения лестницы, которые служат вертикальной опорой под перила. Балясины из дерева не только выполняют несущую функцию, но и служат декоративным элементом лестничной конструкции. Податливая структура древесины позволяет создавать самые разнообразные балясины от простых форм до оригинальных фигурных и резных изделий.

Так выглядят классические деревянные балясины для лестницы
Назначение и преимущества стоек из дерева
Балясины для лестниц выполняют следующие важные функций:
- обеспечивают безопасность передвижения по лестничному маршу;
- выполняют опорную функцию;
- придают дополнительную жесткость ограждению лестниц;
- являются самым заметным элементом декора.
Деревянные балясины пользуются повышенным спросом благодаря особым свойствам и преимуществам изделий из дерева:
- Экологичность. Натуральная древесина абсолютно безопасна и не выделяет опасных для организма веществ. Напротив натуральные смолы и эфирные масла имеют оздоравливающее действие.

Готовые с монтажу перила собранные из деревянных балясин

Вариант устройства перил из деревянных балясин
Виды деревянных балясин
Балясины способны преобразить даже самую простую лестницу благодаря большому разнообразию форм и сечений:
- Круглые виды балясин. Простой вариант стоек для лестницы. Столбики имеют цилиндрическую форму с сечением 2,5 — 4 см. Прочные и стильные балясины выполняются из цельной древесины и часто комбинируются с металлическими трубками;
- Квадратные стойки. Изделия с квадратным сечением прекрасно смотрятся с конструкциями лестниц строгих простых форм. На боковины стоек нередко наносятся декоративные углубления;
- Плоские балясины. Такие виды стоек изготавливают из досок или фанеры. Это могут быть отдельные изделия или одна цельная деталь. Стойки украшаются резными сквозными узорами и орнаментами.

Так выглядят плоские деревянные балясины
Плоские опоры для лестниц самый простой вариант для изготовления своими руками. Все резные детали можно сделать с помощью лобзика.
В зависимости от технологии производства деревянные балясины можно разделить на три типа:
- Точеные балясины. Один из самых распространенных вариантов обработки деревянных опор для лестницы. Простому бруску из дерева можно придать совершенно неповторимую изысканную форму с помощью токарного станка. Различная форма резцов позволяют изготавливать разнообразные фигурные изделия из дерева своими руками;
- Фрезерованные стойки. Для работы понадобится фрезерный станок, а для заготовок берутся точеные стойки. На них с помощью станка наносятся различные углубления, спирали, косы и другие нарезные элементы декора;
- Резные балясины.
Самые красивые, дорогие и эстетически совершенные изделия производятся на современных станках ЧПУ, которые позволяют воспроизвести любую форму стойки с помощью 3D-моделирования. Своими руками изготавливать резные балясины достаточно трудоемко, хотя и увлекательно.
Какую породу дерева выбрать
Чтобы лестница долго оставалась прочной и презентабельной рекомендуется выполнять все элементы: перила, балясины, ступени из одного сорта дерева. При изготовлении опор для лестницы правильнее всего выбирать твердые породы древесины:
- Дуб. Благородный и крепкий, отличается самыми высокими эксплуатационными характеристиками. Он прочен, стоек к температурным перепадам, влаге и загниванию. Изделия из дуба имеют красивый темный оттенок. Изделия практически не растрескиваются и не коробятся. Несмотря на плотность древесины, дуб можно обрабатывать всеми доступными способами.

Пример резных дубовых балясин
Чертежи и узоры березовых балясин
Хотя дерево имеет неплохие показатели прочности, легко обрабатывается, шлифуется и окрашивается. Березе после соответствующей обработки можно придать вид благородной древесины.
Для изготовления балясин своими руками важно выбрать древесину правильной влажности, без трещин, сучков и прочих дефектов. Пересушенная древесина очень хрупка, а влажная после сушки может растрескаться.

Различные виды резных балясин
Также начинающим мастерам будет разумнее выбирать недорогие сорта древесины – сосну или березу, которые просты в обработке. Такие ценные породы как дуб или орех слишком дороги, чтобы их можно было портить в процессе обучения.
Изготовление балясин
Процесс создания стоек для лестницы своими руками достаточно сложен и требует специализированных инструментов, определенных навыков и усидчивости. Изготовление балясин проводится в два этапа: проектирование и вытачивание изделия на станке.
Проектирование
Перед тем как начать изготовление балясин нужно спроектировать их форму — множество идей и эскизов можно найти в интернете.
Также производятся замеры высоты перил (рекомендованная высота ограждения должна быть от 0,7 до 1 м). Определяется расстояние между стойками, чтобы высчитать необходимое количество стоек для лестницы.
Составляется чертеж будущего изделия с указанием размеров всех изгибов и срезов. Следующий этап – это перенесение чертежа на деревянную заготовку. Нанесенные метки нужно пронумеровать – для каждой декоративной детали может понадобиться свой режущий инструмент.
Виды резцов для станка
Для создания различных фигур на деревянной заготовке используются специальные резцы, каждый из которых имеет свое назначение:
- Рейер. Резец имеет форму округлой дуги и используется для вытачивания сводов.

- Мейсель. Имеет вогнутый резец и применяется для создания шарообразных деталей.
- Штихель и резец-косяк. Используется для вытачивания конусообразных элементов.
- Фасонные стамески. Конфигурация резца зависит от того какую форму нужно придать детали.
Вытачивание фигурных стоек
Изготовление балясин на станке выполняется в следующей последовательности:
- Закрепление деревянной заготовки на станке, часто для этого требуется сделать на торцах отверстия. Фиксация должна производиться строго по центру для получения ровного симметричного изделия.
- Деревянный брусок предварительно обтачивают полукруглой стамеской, чтобы срезать грани заготовки.

Процесс вытачивания балясины из бруска
Изготовление плоских балясин
Не менее привлекательными, но более доступными для изготовления своими руками являются плоские балясины. Для работы понадобятся доски нужной толщины или листы фанеры, шаблоны и лобзик.
Суть метода достаточно проста – по заранее подготовленным лекалам из дерева электролобзиком вырезаются плоские изделия. Фигурный узор может проходить только по краям балясины или по всему полотну заготовки.
Изготовление плоских балясин для лестницы выполняется в следующей последовательности:
- Создание эскиза. Рисунков и орнаментов для прорезной резьбы. достаточно много представлено в интернете. Понравившийся узор в натуральную величину переносится на картон или бумагу.

- Вырезанный шаблон прикладывается к заготовке, и контур обводятся карандашом.
- Узор вырезается по контуру лобзиком. В сквозном узоре вначале высверливается отверстия дрелью, чтобы можно было завести пилку электролобзика.

Вырезание плоских балясин на специальном станке
Стоимость деревянных балясин
Без специального оборудования и навыков изготовление балясин процесс трудоемкий и не всегда оправданный. Возможно, будет проще купить готовые изделия для ограждения лестницы, подобрав самый оптимальный вариант по стоимости и внешним данным.
Цена на деревянные стойки и перила формируется под влиянием следующих факторов:
- Сорт древесины. Самыми дорогими считаются изделия из дуба или бука. Можно купить балясины и перила, изготовленные из эксклюзивных пород: красное дерево, орех, вишня. Самая доступная цена у сосны.

- Сложность декоративного оформления. Дешевле купить изделие простых форм с минимальной обработкой. Чем больше элементов и украшений, тем дороже цениться работа.
- Способ изготовления балясин для лестниц. Резные изделия ручной работы будут иметь значительно большую цену, нежели изготовленные механизированным способом.
Для сравнения, точеные элементы для ограждения лестницы в зависимости от породы дерева и сорта изделия приблизительно можно купить по следующей цене:

Различные виды деревянных балясин
Как самостоятельно сделать плоские балясины
На протяжении всей осознанной истории человечества люди стараются украсить свое жилье возможными для них способами. Безусловно, многое зависит от индивидуальных наклонностей человека, его материальных возможностей и других факторов. Но, как показывает опыт, главное это наличие желания самореализации в таком творческом процессе, как обустройство своего дома. Сегодня разговор пойдет о том. как сделать своим рукам деревянные плоские балясины.

Выбираем плоские балясины
Вообще, балясиной в архитектуре называют точеный столбик перил или ограды. (Такую формулировку дает словарь С.И.Ожегова.) Как утверждают археологи, первые резные балясины (на фото) использовались еще в постройках древних ассирийцев. Славяне тоже активно использовали этот элемент в своем зодчестве. Изначально это были ограждения крыльца из сплошных досок и несли они чисто практическое назначение — защита от непогоды. Но истории свойственен прогресс и со временем появились мастера, которые украшали крыльцо плоскими деревянными балясинами с элементами вырезанного декора.
Так ограждения из резных балясин приобрели помимо функционального назначения еще и декоративное. Сразу оговоримся, что плоские балясины из дерева сильно отличаются от подобных изделий круглых форм и являются характерным стилем именно русской архитектуры. Вообще балясина имеет много разновидностей и специфических особенностей. В зависимости от принадлежности к определенному стилю, от материала, из которого она выполнена, формы и т.д. В нашем случае, мы будем говорить о плоских деревянных балясинах.

Сам по себе факт выполнения декоративных элементов в своем доме самостоятельно свидетельствует о том, что хозяин — человек творческий. Но одного замысла здесь мало и прийдется кропотливо пройти все этапы столярной работы, прежде чем ваше изделие по достоинству украсит дом. Для начала нужно понять, какого вида балясины из дерева резные вам по душе. Они могут быть с различной резьбой: сквозной, глухой, контурной, скобчатой, рельефной, как видим, простор для идей. Именно такое разнообразие видов обработки балясин позволяет им органично вписываться в различные стилистические решения дома.
Благодаря тому, что плоские балясины могут близко устанавливаться друг к другу, с их помощью можно создавать уникальные орнаменты, украшающие не только крыльцо, но и веранду, беседку, лестницу. Подобные ажуры являют собой вершину деревянного зодчества. Приведем для примера разновидности плоских балясин. В первом случае это элементы одинаковой формы (они устанавливаются в любом порядке). Второй вариант, когда рисунок каждой последующей балясины продолжает рисунок предыдущей. И третий вид, если балясины выполнены без внутренней резьбы, каждый элемент вырезается по заданной форме (фото).

Как выбрать дерево для плоских балясин
Несколько слов о различных породах дерева, используемого для изготовления резных плоских балясин. Создавая свой шедевр, нужно помнить о том, что кроме презентабельного внешнего вида ваше изделие должно быть прочным и функциональным. Породы дерева, используемые для изготовления балясин, характеризуются в первую очередь прочностью. Это дуб, лиственница, ясень, бук, береза, сосна.

Каждая порода дерева имеет свои преимущества и недостатки, поэтому обязательно ознакомьтесь с этими характеристиками до момента выбора материала для работы. Рассмотрим их детально:
- Бесспорным лидером в этом направлении является дуб. Изделия из него прочны не трескаются, не деформируются под воздействием окружающей среды.
- Ясень несколько уступает дубу в твердости и прочности, но устойчив к гниению и выдерживает большие нагрузки при изгибе.
- Бук — весьма прочное дерево, легко пропитывается различными составами, но если сильно высыхает, то может терять форму.
- Изделия из лиственницы отличаются прочностью, практически не деформируются со временем, не подвержены гниению.
- Сосновая древесина легка в обработке, хорошо переносит перепады температуры, устойчива к грибкам, но ее пористая структура неоднородна, что сказывается во время покраски изделий.

Этапы работы
Изготавливая плоские балясины своими руками, обязательно сделайте эскиз и чертежи плоских балясин – будущего изделия. Это не только убережет вас от ошибок, но позволит взглянуть на модель задуманного (фото). Если ваша ограждающая конструкция будет состоять из одинаковых элементов, то достаточно построить один из них на бумаге, а потом перенести на доску и приступать к выпиливанию. (Предварительно подготовить набор резцов.) А если вы решили создать сложный орнаментальный рисунок, каждая балясина будет иметь свой вид и потребуется несколько чертежей изделия.

Следующим этапом в работе станет обработка краев балясины. Обтачивать нужно аккуратно, соблюдая симметрию во всех деталях и добиваясь гладкости краев. Затем, выпиленные части конструкции нужно соединить. Перед склеиванием балясин их нужно обезжирить и тщательно зачистить. Клей подбирается специальный и наносится на обе склеиваемые детали. Если вы задумали создать сложный орнамент из плоских балясин, то будьте внимательны при сборке их в единое полотно, не отклонитесь от своего эскиза.(видео) В случае простой конструкции (когда элементы ограды одинаковые) соблюдайте ширину шага между ними. Теперь, когда балясины склеены, их можно устанавливать и накрывать перилами. Возможно эта конструкция не очень устойчива, но эстетически она весьма привлекательна.
Особой темой станет установка балясин для деревянной лестницы. Во-первых, нужно помнить, что в этом случае древесина, из которой изготовлена сама лестница, должна быть использована и для плоских резных балясин. Иначе конструкция не будет восприниматься стилистически единой, не говоря уже о возможных перекосах, разные породы дерева по-разному ведут себя в эксплуатации. Во-вторых, установка балясин на ступени требует специальной подготовки и квалификации. Но при желании и этим навыком можно овладеть, следуя советам специалистов.
Заключение
Итак, сделать ограждение из плоских балясин весьма увлекательно и экономично, да и на фото плоские балясины выглядят привлекательно. Если у вас проснулось желание украсить свой дом или дачу таким оригинальным архитектурным элементом, не отказывайте себе в этом удовольствии. Выполняя работу, вы получите новые знания, навыки и создадите своего рода оберег для дома, ведь любая вещь, сделанная своими руками, наполнена созидательной энергией и будет верной защитой вам и вашему дому.
Деревянное кружево плоских балясин
Лестничные ограждения – это те элементы, которые оживляют лестницу и придают ей динамику своим повторяющимся рядом стоек. Для изготовления ограждений применяют самые разнообразные материалы, главное, чтобы вся конструкция выглядела единым целым. Очень любимы народом резные деревянные балясины. Цена на такие изделия существенно ниже, нежели на сложно изготовленные каменные. Процесс изготовления деревянных балясин разделяют на три вида:
- Вытачивание путем вращения.
- Выпиливание вручную округлых форм.
- Изготовление плоских балясин.
И сегодня мы расскажем вам именно о плоских балясинах – как их сделать своими руками, и продемонстрируем на фото разнообразные изделия.
Экскурс в историю
Ограждения именно такой формы родились далеко в древности. Изначально на Руси крылечко дома и веранды ограждали сплошными дощечками из теса, в которых практически не было зазоров. Это делалось для того, чтобы ветра и осадки не попадали на крыльцо. С течением времени этот элемент декора лестницы и веранды стал видоизменяться – дощечки становились тоньше и затейливей. Они уже не столько защищали веранду от погодных явлений, сколько украшали ее.
Каждый хозяин придумывал свои рисунки сквозной резьбы, чтобы его дом отличался от других. Дощечки стали отставлять друг от друга на все большее расстояние, чтобы рисунок был хорошо виден, и вот они приняли форму известных нам балясин. На фото – «кружевные» изделия из дерева в истинно русском стиле.
Чем хороши такие ограждения?
Надо сказать, что деревянные плоские балясины стоят особняком от своих собратьев – круглых стоек ограждения. Все дело в их рисунке (да и цена ниже). Посмотрите на фото ниже, как это выглядит.
В отличие от круглых балясин, каждая из которых представляет собой законченную фигуру, как две капли воды похожую на соседние, плоские «играют» совместно. Каждая следующая балясина может продолжать собой элемент рисунка, начатого первыми балясинами в ряду.
Рисунок из пустоты?
Знаете ли вы, что узор можно составить не только из предметов и материалов, которые можно потрогать, но и практически из воздуха? Плоские балясины из дерева это демонстрируют (на фото). Настоящие мастера своего дела искусно вырезают дощечки, изымая совсем немного лишнего, чтобы «нарисовался» узор из образовавшихся пустот. Таким образом достигается целых две цели: красивые резные ограждения и улучшенная защита от ветров (ведь плотность дощечек сохранена).

Итак, чем же хороши плоские балясины из дерева, кроме своей неоспоримой красоты и декоративности? Напишем списочек:
- Они защищают веранду/крыльцо/беседку от сквозняков и осадков.
- В то же время позволяют свежему воздуху вентилировать пространство веранды, выгоняя сырость и подсушивая половое покрытие.
- Уберегают деревянные постройки от гниения тем, что пропускают сквозь себя достаточно воздуха.
- Их легко сделать своими руками.
- Цена изделия будет состоять всего лишь из дешевых тесовых дощечек и клея.
- Это прекрасное время препровождения для всей семьи и простор для творчества.
Сделать красоту своими руками
Как мы уже сказали выше, сделать красивые и оригинальные балясины из дерева своими руками несложно. Для этой творческой работы потребуется токарный станок – для домашней работы подойдет настольный. Также приготовьте набор резцов. Но учтите, что без навыков работы на станке вам лучше не подходить к нему! Тогда вы можете попробовать выпиливать ручными инструментами.
В любом случае начните с выбора рисунка. Нарисуйте эскиз или скопируйте понравившийся с подходящего фото. Перенесите рисунок на дощечку и начинайте выпиливать по контуру. Последовательно обработайте все будущие балясинки. Когда черновые заготовки готовы, приступайте к тонкой работе – обработке краев. Здесь вам понадобится набор резцов. Обтачивайте контуры, добиваясь идеально гладких краев и полной симметрии всех заготовок.
Готовые изделия склейте друг с другом, выложив их на пол «заборчиком». Когда они схватятся, приделайте к ним поручни. Покройте лаком или морилкой. Вуаля, все готово! Конечно, ваше «кустарное» изделие будет не очень прочным, наваливаться на него не следует. Но свою декоративную роль сыграет. А цена затрат вашей ручной работы будет смехотворно мала.
На видео показано, как сделать на станке красивые, ровные изделия из дерева, посмотрите, это любопытно.
Источники: http://proekt-sam.ru/rezba/balyasiny-iz-dereva-dlya-lestnicy.html, http://2ladders.ru/sdelat-ploskie-balyasiny, http://7lestnic.com/svoimi-rukami/baljasiny-derevjannye-ploskie-svoimi-rukami.html
lestnica-mpl.ru
основные виды и критерии выбора
Красиво декорированная лестница – украшение любого дома. Конструкция обеспечивает свободный доступ на верхние этажи, мансарды, балконы. Чтобы обезопасить подъем и спуск по ступеням, сооружение оборудуют ограждениями. Опорные столбики, поддерживающие перила, называют балясинами. Эти фрагменты играют декоративную роль и выполняют важную функцию надежной опоры.
Балясины для лестницы из дерева насчитывают сотни различных вариантов – от простых изделий до витиеватых резных столбиков. Конфигурация и форма опор задают общую стилистику деревянной лестнице.

Модификации балясин
Обширный ассортимент деревянных стоек открывает отличные возможности для создания эксклюзивных лестниц и балюстрад. Для изготовления оградительных элементов используют прочные породы древесины. Натуральное дерево хорошо поддается окрашиванию и лакировке, что позволяет сохранить привлекательный вид изделий длительное время.
По технологии производства опорные стойки условно классифицируют на три обширные группы:
- Точеные столбики. Изготавливаются на обычных токарных станках, придавая балясинам разные геометрические формы в разрезе – цилиндры, прямоугольники, эллипсы. Для изделий характерны простой элегантный вид и ценовая доступность.

- Фрезерные балясины. Для них характерно наличие оригинальных украшений в виде продольных и винтообразных нарезок, выполненных при помощи фрезера. Отличаются привлекательным внешним видом, пользуются широким спросом у потребителей.

- Резные декоративные элементы. Технология производства отличается трудоемким и сложным процессом изготовления, такие балясины создают на специализированных станках. Используются три типа резьбы: скульптурная (картины), глухая (фон), ажурная (плоские заготовки).

Лестничные балясины обеспечивают безопасность передвижения по ступенькам. Каждый человек при подъеме и спуске инстинктивно старается нащупать перила. Изделия выполняют опорную функцию, улучшают прочностные характеристики лестницы.
Столбики, изготовленные из экологически чистой древесины, обладают определенной теплотой, красивой фактурой, придают самой простой лестнице эксклюзивный презентабельный вид. Дерево органично сочетается с разными материалами, стилями, интерьерами.
Балясины использовали для лестничных ограждений сотни лет назад. Они не утратили актуальность в современном дизайне, а изделия ручной работы ценятся дороже всего.

Разновидности деревянных балясин
Внутренние и наружные лестницы гармонично смотрятся в сочетании с перилами и ограждениями из натурального дерева. Ступени с опорами и поручнями приобретают целостный вид, а лестничная конструкция отвечает требованиям безопасности.
Широкий выбор балясин можно разделить по форме изделий на три основные категории:
- Плоские. Представляют изготовленные из фанеры или дерева элементы, выполненные с орнаментами и узорами, хорошо укладываются в красивые композиции.

- Круглые. Выполняются в строгой цилиндрической форме из цельной древесины, параметр сечения варьируется от 2,5 до 4 см, отличаются хорошей сочетаемостью с конфигурацией лестниц.

- Фигурные. Популярные скульптурные опоры изготавливают вручную или на специальных станках с программным оборудованием, используя для работы дорогостоящую древесину.

Выбирая форму балясин, нужно ориентироваться на конструктивные и декоративные характеристики деревянной лестницы:
- Для маршей в классическом стиле лучше всего подходят квадратные балясины, придающие лестнице и интерьеру солидность и шик.

- Небольшой лестничный марш можно самостоятельно оградить и украсить элегантными круглыми опорами небольшой толщины, чтобы придать сооружению воздушность и легкость.

- Шикарные лестницы в колониальном стиле наиболее эффектно сочетаются с резными балясинами, причем первые снизу опорные столбики должны быть массивными и завершать общий вид конструкции.

Какую породу дерева выбрать?
Для изготовления балясин используют только твердые породы древесины, чтобы ограждения были прочными, долговечными и выдерживали значительную нагрузку. Мастера рекомендуют выполнять опорные столбы и ступени из одной и той же древесины.
Сложность обработки дерева, число узоров, орнаментов, рисунков влияют на финальную стоимость лестницы. Для изготовления балясин используют дуб, бук, сосну и другие породы древесины, которые отличаются высокими эксплуатационными и эстетическими характеристиками.
Дуб
Такая древесина, как дуб, отличается приятным оттенком и красивой фактурой. Натуральное дерево обладает высокой прочностью и сохраняет первоначальный вид много лет. Поэтому лестницы с дубовыми балясинами обладают большим сроком активной эксплуатации. Дуб хорошо поддается обработке, на заготовках можно вырезать тончайшие узоры и завитки.

Бук
По твердости, прочности и декоративным свойствам буковая древесина не уступает дубовым породам. Балясины из бука придают лестнице дополнительную жесткость, хорошо выдерживают нагрузки. Человек с массой тела в 100 кг может спокойно опираться на перила, поддерживаемые буковыми опорами. Единственный недостаток – бук сильно подвержен воздействию влаги. Поэтому для многолетней эксплуатации лестницы балясины из бука нужно тщательно обработать специальными составами.

Ясень
Древесина из ясеня очень твердая, часто используется для изготовления деревянных элементов и конструкций. По качественным показателям ясень уступает буковому и дубовому материалу. Но древесина обладает высокой устойчивостью к влажности и обладает привлекательным природным рисунком. У ясеня эластичная, прочная, твердая структура, устойчивая к гниению. Балясины из ясеня хорошо выдерживают значительные нагрузки на изгиб.

Береза
В производстве балясин березу используют реже других пород деревьев. Для нее характерна структура средней плотности и твердости, но очень хорошая вязкость. К недостаткам березовой древесины относится склонность к растрескиванию, высокий процент усушки, подверженность гниению. Мастера ценят березу за хорошие свойства при обработке и возможность выполнять сложные узоры. Окрашенным березовым балясинам можно придать вид красного дерева, серого клена, структурного ореха.

Сосна
Главным преимуществом сосновой древесины является легкость обработки благодаря мягкой текстуре. Дерево обладает приятным смолистым ароматом, при должной пропитке устойчиво к высокой влажности и гниению. Сосна хорошо обрабатывается режущим и шлифовальным инструментом. Из-за высокой пористости древесины краска впитывается неравномерно, что снижает качество покрытия, и со временем балясины могут потемнеть.

Лиственница
Цвет лиственницы варьируется от красно-коричневого до бурого оттенка. По твердости древесина уступает дубовому материалу, но превосходит его по прочности за счет большого количества смолистых включений. Дополнительное преимущество лиственницы – неподверженность гниению и высокая прочность. В процессе эксплуатации балясины из лиственницы не коробит, но в процессе сушки не исключено образование в заготовках внутренних трещин.

На видео: как выбрать материал и комплектующие для лестницы.
Размеры
Чтобы правильно подобрать вариант оформления лестничных перил балясинами, на стадии проектирования следует провести замеры и расчеты лестничной конструкции. Учитывается общий вид лестницы и помещения, количество, длина и ширина маршей, позиция проступи. Число балясин зависит от длины сооружения.
Поскольку опоры в первую очередь предназначены для ограждения, нужно соблюдать расстояние между столбиками. Размеры балясин зависят от конфигурации и габаритов лестницы, стандартный столбик имеет размер 50х50 мм.
Начальные столбы, колонны и основные опоры имеют неодинаковые размеры. Габариты самых ходовых изделий представлены в таблице.
| № п/п | Название детали | Форма изделия | Материал изготовления | Типовой размер одной единицы, мм |
| 1 | Столб начальный | Короб | Лиственница | 150х150х1250 |
| 170х170х1250 | ||||
| 100х100х1250 | ||||
| 120х120х1250 | ||||
| 2 | Столб начальный | Короб | Дуб | 150х150х1250 |
| 170х170х1250 | ||||
| 100х100х1250 | ||||
| 120х120х1250 | ||||
| 3 | Столб начальный | Короб | Сосна | 100х100х1250 |
| 120х120х1250 | ||||
| 4 | Столб начальный | Фигурный | Сосна | 80х80х1200 |
| 100х100х1200 | ||||
| 120х120х1200 | ||||
| 150х150х1200 | ||||
| 5 | Столб начальный | Фигурный | Лиственница | 80х80х1200 |
| 100х100х1200 | ||||
| 6 | Столб начальный | Фигурный | Дуб | 80х80х1200 |
| 100х100х1200 | ||||
| 7 | Столб начальный | Фигурный | Ясень | 80х80х1200 |
| 100х100х1200 | ||||
| 8 | Колонна | Сосна | 100х100х3000 | |
| 120х120х3000 | ||||
| 150х150х3000 | ||||
| 9 | Балясина | Фигурная | Сосна | 50х50х900 |
| 60х60х900 | ||||
| 80х80х900 | ||||
| 100х100х900 | ||||
| 120х120х1000 | ||||
| 150х150х1200 | ||||
| 10 | Балясина | Фигурная | Лиственница | 50х50х900 |
| 40х40х900 | ||||
| 11 | Балясина | Фигурная | Дуб | 50х50х900 |
| 40х40х900 | ||||
| 12 | Балясина | Фигурная | Ясень | 50х50х900 |
| 60х60х900 |
Для индивидуальных проектов стоит обратиться с вопросами к мастерам, у которых можно заказать изготовление балясин под заказ. При составлении размерных расчетов специалисты учитывают прочность материалов и нагрузку, которые разные породы древесины могут воспринимать. Поэтому размеры балясин могут варьироваться, в зависимости от материала изготовления. Когда проект готов, приступают к вытачиванию, фрезеровке или вырезанию балясин.
Высота
В зависимости от формы и исполнения лестницы, высота балясин колеблется от 650 до 1000 мм. Чтобы получить надежное и прочное ограждение, балясины крепят на тетивы или ступени. Стандартной принята высота опорных столбов в 900 мм. Если изделия выполняют под заказ, по желанию клиента высоту балясин можно увеличить.
Высчитать высоту балясин можно по формуле: разница между высотой перил и толщиной поручня с учетом ширины покрытия ступени.
Размеры лестничных перил по ГОСТуВ начале и конце ступеней (если забежные, то на каждой стороне), на углах маршей устанавливают высокие и более массивные заходные столбы или колонны с утолщенным сечением, которые придают сооружению законченный вид.
Расстояние между балясинами
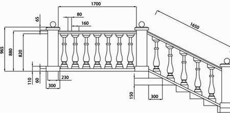
Назначение балясин – создать прочное ограждение и повысить жесткость лестницы. Поэтому при монтаже столбов нужно соблюдать определенный шаг опорных стоек. Требования регламентируются ГОСТом 25772-83.
Расстояние между балясинами лестницы составляет:
- домашние деревянные лестницы – до 150 мм;
- комбинированные, экранные перила – 300 мм;
- лестничные пролеты в детских учреждениях – 100 мм.
В случаях, когда в доме есть дети, в целях безопасности можно установить балясины с шагом 10 см. При использовании для ограждения плоских балясин, их устанавливают часто и близко друг к другу, чтобы получить интересный рисунок.

Опорные столбы украшают лестницу и делают ее безопасной для эксплуатации. Чтобы сооружение выглядело эстетически привлекательным, балясины должны соответствовать стилю и направлению интерьера или экстерьера. Межэтажная или уличная конструкция может эффектно объединить архитектурный ансамбль строения в единое целое.
Балясины для лестницы без станка — быстро и просто (3 видео)
Лестницы с красивыми перилами (56 фото)
dekormyhome.ru
Размеры балясины для лестниц из дерева
Изготовление балясин из дерева своими руками
Работы по изготовлению балясин из дерева своими руками под силу далеко не каждому. Такой важный не только в техническом, но и эстетическом плане элемент имеет множество вариаций. Чтобы сделать идеальное изделие, необходимо ознакомиться с конструкционными особенностями этой детали, используемыми материалами и способами непосредственно самого изготовления.
Особенности и виды изделий

Балясины — это в первую очередь безопасность
Балясина представляет собой одну из основных деталей ограждения для лестницы. Именно на этих элементах и держаться перила. Они выполняют сразу несколько функций:
- обеспечение безопасности передвижения;
- крепление перил и поручней;
- придание лестнице декоративного внешнего вида.
Если вы конструируете лестницу, у вас есть два варианта: приобрести готовые балясины либо же сделать их своими руками. При этом доступны такие материалы, как дерево и металл.
Размеры балясин из дерева определяются таким образом, чтобы перила находились на установленной стандартами высоте. На подпил и корректировку уровня оставляют запас по обеим сторонам.
Балясину условно можно разделить на три части:
- Основание – низ детали, место фиксации к полу или ступеням.
- Тело – центральная часть с фигурными элементами.
- Опорная часть – служит для закрепления перил.
Размеры каждой части могут варьироваться в зависимости от дизайна. Различают такие виды:

Деревянные балясины могут быть самых разных форм
Самые простые – плоские и точеные. Фрезерованные содержат сложные декоративные элементы, а резные балясины основаны на резьбе по дереву. Дополнительно может использоваться металл для креплений и украшения.
Чтобы подготовить чертежи, нужно определить высоту будущего ограждения, обычно это значение колеблется в пределах 80-100 см. На бумагу наносятся крайние отметки, а затем прорисовывается форма будущего изделия. Для удобства работы со станком при изготовлении точеных моделей рекомендуется заготовить шаблон и распределить заранее, какие насадки должны использоваться на том или ином отрезке.
При проектировании следует учитывать также расстояние между фрагментами ограждения. От этого во многом зависит дизайн балясин, ведь в конечном виде после монтажа заграждения и перил между столбиками должно оставаться свободное пространство в пределах 10-30 см, в зависимости от типа лестницы и места её установки. Фигура, образующаяся в просветах тоже должна выглядеть эстетично и не создавать дисгармонии в общей композиции.
Подбор материала
Для того чтобы сделать своими руками деревянные балясины, лучше всего использовать лиственные породы дерева с запасом прочности. К таким относятся прежде всего:
А вот деревянные балясины из сосны обладают меньшими показателями прочности, но с таким материалом гораздо проще работать. Из сосны и ели можно сделать плоские модели или простые точеные, а для укрепления несущих деталей использовать металл.

Лестницы из березы долговечны и надежны
Вообще, сочетание в балясинах таких материалов, как металл и дерево – довольно распространенная тенденция. Металл может выполнять функцию крепежа, защиты от влаги и повреждений в нижней части столбиков. Особенно часто такой прием используется для уличных конструкций. Также металл применяют для декора простых изделий. Заранее рассмотрите подобные варианты перед тем, как разрабатывать чертежи и приступать к изготовлению балясин.
Изготовление плоских деталей
Для того чтобы своими руками сделать из дерева плоские балясины, вам понадобятся доски нужной толщины и лекала. Суть процесса состоит в том, чтобы по заранее подготовленным чертежам балясин вырезать из дерева соответствующие детали. Для этого используют электролобзик.
Для удобства проведения работ нужно перенести на заготовку контуры будущего изделия. Можно наклеить сверху непосредственно само лекало. После того как вы выпилите все формы необходимо отшлифовать поверхность. Снимается тонкий слой древесины, стачиваются все углы, создаются гладкие и аккуратные закругления. Своими руками шлифовать плоские балясины лучше всего с помощью специального инструмента или насадки на шуруповерт.

Простые по форме балясины можно изготовить своими руками даже без особых столярных навыков
Объемные элементы
Изготовить своими руками объемные балясины гораздо труднее, нежели плоские. Здесь уже потребуется более профессиональное оборудование, резьба и чертежи. Самый примитивный вариант – разрезать балку с круглым или квадратным сечением на фрагменты необходимой длины. Более прогрессивный вариант – точеные модели. Для них можно использовать ручной фрезеровочный станок или обычную дрель. Последнюю нужно закрепить в устойчивом положении таким образом, чтобы насадка фиксировалась снизу и к ней обеспечивался нормальный доступ. При этом металл для насадок должен быть качественным и не перегреваться.
На станке для вытачивания каждого отдельного элемента используется своя насадка той или иной формы и размера.
Чтобы изготовить большое количество деревянных балясин своими руками, вряд ли удастся обойтись таким самодельным приспособлением. Требуется наличие станка для изготовления. Современные модели такого инструмента основаны на компьютеризированном контроле. Это позволяет создавать сложные фигуры, фрезеровки и целые композиции. Именно на них выполняется резьба балясин из дерева.
При желании своими руками можно сделать деревянные балясины любого типа. Но если вам дорого ваше время, рационально соотносите ваши возможности и желания.
Проектирование лестничных балясин
Для лестницы из дерева гармоничным дополнением будет ряд балясин из той же породы древесины. Строительный рынок представляет немало оригинальных моделей, и сделать выбор между ними нелегко. При наличии оборудования, необходимых навыков и желания потрудиться можно обустроить балюстраду самостоятельно. Но перед началом работы над точеными балясинами необходимо выполнить подробные чертежи и определить расстояние между элементами.
С чего начать изготовление балясин
Изготовлению балясин предшествует расчет параметров лестницы. От ее размеров будет зависеть, сколько деталей понадобиться и какого размера они будут. Оптимальная высота балясины для удобного ограждения находится в рамках 650-1000 мм, стандартные изделия имеют высоту 900 мм. Ограждение не только обеспечивает удобство, но и:
- делает движение по лестнице безопасным;
- формирует стиль конструкции;
- повышает прочность сооружения.
Следует определить расстояние между стойками. Между балясинами должен оставаться зазор от 120 до 150 мм. Если в доме есть дети, для их безопасности на лестнице расстояние рекомендуется уменьшить до 100 мм. Когда рассчитывают расстояние между стойками и их количество на лестнице учитывают, что диаметр их сечения составляет в среднем от 40 до 80 мм.
Вместе с обеспечением безопасности балясины повышают прочность конструкции. Она должна получиться не только эстетичной, но и достаточно надежной. Поэтому балясины нужно прочно фиксировать на ступенях или несущих элементах и в основе перил.
Как подготовить чертежи и шаблоны?
Перед тем, как приступать к разработке чертежа, необходимо выбрать дизайн изделия. Можно взять за основу одну из моделей, представленных в интернет-магазинах, или самостоятельно придумать форму балясин из дерева. Затем следует выполнить эскиз изделия, после чего приступить к самому чертежу. Вместе с очертаниями балясины необходимо обозначить размеры и расстояние между фигурными элементами.
Чтобы правильно выполнять все элементы балясин, нужно подготовить шаблон. Особенно он полезен для моделей, часть элементов которых не подвергается обработке на токарном станке. К таковым относятся квадратные или шестигранные фрагменты. Шаблоны изготавливают, беря за основу чертеж. Заготовку фиксируют на станке, после чего карандашом переносят на нее с чертежа разметку. Далее приступают к вырезанию элементов.
На шаблон советуется наносить метки, указывающие, какой инструмент использовать для обработки каждого из участков.
Чертеж для изготовления плоских балясин
Наряду с балясинами округлой формы, немалую распространенность обрели плоские стойки из дерева. Применяют их не только для ограждений лестниц, но и для оформления веранд или балконов. Располагая их в определенной последовательности, можно получить балюстраду, представляющую собой единую композицию.
Хотя для выполнения балясины будет использоваться другой инструмент, ход работы отличается мало. Вначале также выбирается орнамент и фиксируется графически. Затем на заготовку из дерева переносят узор и выпиливают его при помощи лобзика. На заключительной стали изготовления балясины деталь обрабатывают резцами, добиваясь гладкой поверхности и четкости рисунка.
Проектируя балюстраду и выполняя чертежи, необходимо оценить, как смотрятся зазоры между деталями. Они также должны восприниматься гармонично.
Изготовление качественных деталей ограждения во многом зависит от грамотного проектирования. В интернет-магазинах представлены различные образцы. Взяв их за основу и приложив собственную фантазию, можно изготовить необычную модель. Оставьте комментарий и поделитесь своим опытом проектирования и установки лестничных балясин из дерева.
Деревянные балясины для лестницы

Балясины – это архитектурные элементы ограждения лестницы, которые служат вертикальной опорой под перила. Балясины из дерева не только выполняют несущую функцию, но и служат декоративным элементом лестничной конструкции. Податливая структура древесины позволяет создавать самые разнообразные балясины от простых форм до оригинальных фигурных и резных изделий.

Так выглядят классические деревянные балясины для лестницы
Назначение и преимущества стоек из дерева
Балясины для лестниц выполняют следующие важные функций:
- обеспечивают безопасность передвижения по лестничному маршу;
- выполняют опорную функцию;
- придают дополнительную жесткость ограждению лестниц;
- являются самым заметным элементом декора.
Деревянные балясины пользуются повышенным спросом благодаря особым свойствам и преимуществам изделий из дерева:
- Экологичность. Натуральная древесина абсолютно безопасна и не выделяет опасных для организма веществ. Напротив натуральные смолы и эфирные масла имеют оздоравливающее действие.

Готовые с монтажу перила собранные из деревянных балясин

Вариант устройства перил из деревянных балясин
Виды деревянных балясин
Балясины способны преобразить даже самую простую лестницу благодаря большому разнообразию форм и сечений:
- Круглые виды балясин. Простой вариант стоек для лестницы. Столбики имеют цилиндрическую форму с сечением 2,5 — 4 см. Прочные и стильные балясины выполняются из цельной древесины и часто комбинируются с металлическими трубками;
- Квадратные стойки. Изделия с квадратным сечением прекрасно смотрятся с конструкциями лестниц строгих простых форм. На боковины стоек нередко наносятся декоративные углубления;
- Плоские балясины. Такие виды стоек изготавливают из досок или фанеры. Это могут быть отдельные изделия или одна цельная деталь. Стойки украшаются резными сквозными узорами и орнаментами.

Так выглядят плоские деревянные балясины
Плоские опоры для лестниц самый простой вариант для изготовления своими руками. Все резные детали можно сделать с помощью лобзика.
В зависимости от технологии производства деревянные балясины можно разделить на три типа:
- Точеные балясины. Один из самых распространенных вариантов обработки деревянных опор для лестницы. Простому бруску из дерева можно придать совершенно неповторимую изысканную форму с помощью токарного станка. Различная форма резцов позволяют изготавливать разнообразные фигурные изделия из дерева своими руками;
- Фрезерованные стойки. Для работы понадобится фрезерный станок, а для заготовок берутся точеные стойки. На них с помощью станка наносятся различные углубления, спирали, косы и другие нарезные элементы декора;
- Резные балясины.
Самые красивые, дорогие и эстетически совершенные изделия производятся на современных станках ЧПУ, которые позволяют воспроизвести любую форму стойки с помощью 3D-моделирования. Своими руками изготавливать резные балясины достаточно трудоемко, хотя и увлекательно.
Какую породу дерева выбрать
Чтобы лестница долго оставалась прочной и презентабельной рекомендуется выполнять все элементы: перила, балясины, ступени из одного сорта дерева. При изготовлении опор для лестницы правильнее всего выбирать твердые породы древесины:
- Дуб. Благородный и крепкий, отличается самыми высокими эксплуатационными характеристиками. Он прочен, стоек к температурным перепадам, влаге и загниванию. Изделия из дуба имеют красивый темный оттенок. Изделия практически не растрескиваются и не коробятся. Несмотря на плотность древесины, дуб можно обрабатывать всеми доступными способами.

Пример резных дубовых балясин
Чертежи и узоры березовых балясин
Хотя дерево имеет неплохие показатели прочности, легко обрабатывается, шлифуется и окрашивается. Березе после соответствующей обработки можно придать вид благородной древесины.
Для изготовления балясин своими руками важно выбрать древесину правильной влажности, без трещин, сучков и прочих дефектов. Пересушенная древесина очень хрупка, а влажная после сушки может растрескаться.

Различные виды резных балясин
Также начинающим мастерам будет разумнее выбирать недорогие сорта древесины – сосну или березу, которые просты в обработке. Такие ценные породы как дуб или орех слишком дороги, чтобы их можно было портить в процессе обучения.
Изготовление балясин
Процесс создания стоек для лестницы своими руками достаточно сложен и требует специализированных инструментов, определенных навыков и усидчивости. Изготовление балясин проводится в два этапа: проектирование и вытачивание изделия на станке.
Проектирование
Перед тем как начать изготовление балясин нужно спроектировать их форму — множество идей и эскизов можно найти в интернете.
Также производятся замеры высоты перил (рекомендованная высота ограждения должна быть от 0,7 до 1 м). Определяется расстояние между стойками, чтобы высчитать необходимое количество стоек для лестницы.
Составляется чертеж будущего изделия с указанием размеров всех изгибов и срезов. Следующий этап – это перенесение чертежа на деревянную заготовку. Нанесенные метки нужно пронумеровать – для каждой декоративной детали может понадобиться свой режущий инструмент.
Виды резцов для станка
Для создания различных фигур на деревянной заготовке используются специальные резцы, каждый из которых имеет свое назначение:
- Рейер. Резец имеет форму округлой дуги и используется для вытачивания сводов.

- Мейсель. Имеет вогнутый резец и применяется для создания шарообразных деталей.
- Штихель и резец-косяк. Используется для вытачивания конусообразных элементов.
- Фасонные стамески. Конфигурация резца зависит от того какую форму нужно придать детали.
Вытачивание фигурных стоек
Изготовление балясин на станке выполняется в следующей последовательности:
- Закрепление деревянной заготовки на станке, часто для этого требуется сделать на торцах отверстия. Фиксация должна производиться строго по центру для получения ровного симметричного изделия.
- Деревянный брусок предварительно обтачивают полукруглой стамеской, чтобы срезать грани заготовки.

Процесс вытачивания балясины из бруска
Изготовление плоских балясин
Не менее привлекательными, но более доступными для изготовления своими руками являются плоские балясины. Для работы понадобятся доски нужной толщины или листы фанеры, шаблоны и лобзик.
Суть метода достаточно проста – по заранее подготовленным лекалам из дерева электролобзиком вырезаются плоские изделия. Фигурный узор может проходить только по краям балясины или по всему полотну заготовки.
Изготовление плоских балясин для лестницы выполняется в следующей последовательности:
- Создание эскиза. Рисунков и орнаментов для прорезной резьбы. достаточно много представлено в интернете. Понравившийся узор в натуральную величину переносится на картон или бумагу.

- Вырезанный шаблон прикладывается к заготовке, и контур обводятся карандашом.
- Узор вырезается по контуру лобзиком. В сквозном узоре вначале высверливается отверстия дрелью, чтобы можно было завести пилку электролобзика.

Вырезание плоских балясин на специальном станке
Стоимость деревянных балясин
Без специального оборудования и навыков изготовление балясин процесс трудоемкий и не всегда оправданный. Возможно, будет проще купить готовые изделия для ограждения лестницы, подобрав самый оптимальный вариант по стоимости и внешним данным.
Цена на деревянные стойки и перила формируется под влиянием следующих факторов:
- Сорт древесины. Самыми дорогими считаются изделия из дуба или бука. Можно купить балясины и перила, изготовленные из эксклюзивных пород: красное дерево, орех, вишня. Самая доступная цена у сосны.

- Сложность декоративного оформления. Дешевле купить изделие простых форм с минимальной обработкой. Чем больше элементов и украшений, тем дороже цениться работа.
- Способ изготовления балясин для лестниц. Резные изделия ручной работы будут иметь значительно большую цену, нежели изготовленные механизированным способом.
Для сравнения, точеные элементы для ограждения лестницы в зависимости от породы дерева и сорта изделия приблизительно можно купить по следующей цене:

Различные виды деревянных балясин
Источники: http://vseolestnicah.ru/elementy-i-komplektuyushhie/balyasiny-iz-dereva-svoimi-rukami.html, http://7lestnic.com/raschety-i-parametry/chertezhi-baljasin-iz-dereva.html, http://proekt-sam.ru/rezba/balyasiny-iz-dereva-dlya-lestnicy.html
lestnica-mpl.ru
Балясины для лестницы из дерева
Деревянные балясины для лестницы

Балясины – это архитектурные элементы ограждения лестницы, которые служат вертикальной опорой под перила. Балясины из дерева не только выполняют несущую функцию, но и служат декоративным элементом лестничной конструкции. Податливая структура древесины позволяет создавать самые разнообразные балясины от простых форм до оригинальных фигурных и резных изделий.

Так выглядят классические деревянные балясины для лестницы
Назначение и преимущества стоек из дерева
Балясины для лестниц выполняют следующие важные функций:
- обеспечивают безопасность передвижения по лестничному маршу;
- выполняют опорную функцию;
- придают дополнительную жесткость ограждению лестниц;
- являются самым заметным элементом декора.
Деревянные балясины пользуются повышенным спросом благодаря особым свойствам и преимуществам изделий из дерева:
- Экологичность. Натуральная древесина абсолютно безопасна и не выделяет опасных для организма веществ. Напротив натуральные смолы и эфирные масла имеют оздоравливающее действие.

Готовые с монтажу перила собранные из деревянных балясин

Вариант устройства перил из деревянных балясин
Виды деревянных балясин
Балясины способны преобразить даже самую простую лестницу благодаря большому разнообразию форм и сечений:
- Круглые виды балясин. Простой вариант стоек для лестницы. Столбики имеют цилиндрическую форму с сечением 2,5 — 4 см. Прочные и стильные балясины выполняются из цельной древесины и часто комбинируются с металлическими трубками;
- Квадратные стойки. Изделия с квадратным сечением прекрасно смотрятся с конструкциями лестниц строгих простых форм. На боковины стоек нередко наносятся декоративные углубления;
- Плоские балясины. Такие виды стоек изготавливают из досок или фанеры. Это могут быть отдельные изделия или одна цельная деталь. Стойки украшаются резными сквозными узорами и орнаментами.

Так выглядят плоские деревянные балясины
Плоские опоры для лестниц самый простой вариант для изготовления своими руками. Все резные детали можно сделать с помощью лобзика.
В зависимости от технологии производства деревянные балясины можно разделить на три типа:
- Точеные балясины. Один из самых распространенных вариантов обработки деревянных опор для лестницы. Простому бруску из дерева можно придать совершенно неповторимую изысканную форму с помощью токарного станка. Различная форма резцов позволяют изготавливать разнообразные фигурные изделия из дерева своими руками;
- Фрезерованные стойки. Для работы понадобится фрезерный станок, а для заготовок берутся точеные стойки. На них с помощью станка наносятся различные углубления, спирали, косы и другие нарезные элементы декора;
- Резные балясины.
Самые красивые, дорогие и эстетически совершенные изделия производятся на современных станках ЧПУ, которые позволяют воспроизвести любую форму стойки с помощью 3D-моделирования. Своими руками изготавливать резные балясины достаточно трудоемко, хотя и увлекательно.
Какую породу дерева выбрать
Чтобы лестница долго оставалась прочной и презентабельной рекомендуется выполнять все элементы: перила, балясины, ступени из одного сорта дерева. При изготовлении опор для лестницы правильнее всего выбирать твердые породы древесины:
- Дуб. Благородный и крепкий, отличается самыми высокими эксплуатационными характеристиками. Он прочен, стоек к температурным перепадам, влаге и загниванию. Изделия из дуба имеют красивый темный оттенок. Изделия практически не растрескиваются и не коробятся. Несмотря на плотность древесины, дуб можно обрабатывать всеми доступными способами.

Пример резных дубовых балясин
Чертежи и узоры березовых балясин
Хотя дерево имеет неплохие показатели прочности, легко обрабатывается, шлифуется и окрашивается. Березе после соответствующей обработки можно придать вид благородной древесины.
Для изготовления балясин своими руками важно выбрать древесину правильной влажности, без трещин, сучков и прочих дефектов. Пересушенная древесина очень хрупка, а влажная после сушки может растрескаться.

Различные виды резных балясин
Также начинающим мастерам будет разумнее выбирать недорогие сорта древесины – сосну или березу, которые просты в обработке. Такие ценные породы как дуб или орех слишком дороги, чтобы их можно было портить в процессе обучения.
Изготовление балясин
Процесс создания стоек для лестницы своими руками достаточно сложен и требует специализированных инструментов, определенных навыков и усидчивости. Изготовление балясин проводится в два этапа: проектирование и вытачивание изделия на станке.
Проектирование
Перед тем как начать изготовление балясин нужно спроектировать их форму — множество идей и эскизов можно найти в интернете.
Также производятся замеры высоты перил (рекомендованная высота ограждения должна быть от 0,7 до 1 м). Определяется расстояние между стойками, чтобы высчитать необходимое количество стоек для лестницы.
Составляется чертеж будущего изделия с указанием размеров всех изгибов и срезов. Следующий этап – это перенесение чертежа на деревянную заготовку. Нанесенные метки нужно пронумеровать – для каждой декоративной детали может понадобиться свой режущий инструмент.
Виды резцов для станка
Для создания различных фигур на деревянной заготовке используются специальные резцы, каждый из которых имеет свое назначение:
- Рейер. Резец имеет форму округлой дуги и используется для вытачивания сводов.

- Мейсель. Имеет вогнутый резец и применяется для создания шарообразных деталей.
- Штихель и резец-косяк. Используется для вытачивания конусообразных элементов.
- Фасонные стамески. Конфигурация резца зависит от того какую форму нужно придать детали.
Вытачивание фигурных стоек
Изготовление балясин на станке выполняется в следующей последовательности:
- Закрепление деревянной заготовки на станке, часто для этого требуется сделать на торцах отверстия. Фиксация должна производиться строго по центру для получения ровного симметричного изделия.
- Деревянный брусок предварительно обтачивают полукруглой стамеской, чтобы срезать грани заготовки.

Процесс вытачивания балясины из бруска
Изготовление плоских балясин
Не менее привлекательными, но более доступными для изготовления своими руками являются плоские балясины. Для работы понадобятся доски нужной толщины или листы фанеры, шаблоны и лобзик.
Суть метода достаточно проста – по заранее подготовленным лекалам из дерева электролобзиком вырезаются плоские изделия. Фигурный узор может проходить только по краям балясины или по всему полотну заготовки.
Изготовление плоских балясин для лестницы выполняется в следующей последовательности:
- Создание эскиза. Рисунков и орнаментов для прорезной резьбы. достаточно много представлено в интернете. Понравившийся узор в натуральную величину переносится на картон или бумагу.

- Вырезанный шаблон прикладывается к заготовке, и контур обводятся карандашом.
- Узор вырезается по контуру лобзиком. В сквозном узоре вначале высверливается отверстия дрелью, чтобы можно было завести пилку электролобзика.

Вырезание плоских балясин на специальном станке
Стоимость деревянных балясин
Без специального оборудования и навыков изготовление балясин процесс трудоемкий и не всегда оправданный. Возможно, будет проще купить готовые изделия для ограждения лестницы, подобрав самый оптимальный вариант по стоимости и внешним данным.
Цена на деревянные стойки и перила формируется под влиянием следующих факторов:
- Сорт древесины. Самыми дорогими считаются изделия из дуба или бука. Можно купить балясины и перила, изготовленные из эксклюзивных пород: красное дерево, орех, вишня. Самая доступная цена у сосны.

- Сложность декоративного оформления. Дешевле купить изделие простых форм с минимальной обработкой. Чем больше элементов и украшений, тем дороже цениться работа.
- Способ изготовления балясин для лестниц. Резные изделия ручной работы будут иметь значительно большую цену, нежели изготовленные механизированным способом.
Для сравнения, точеные элементы для ограждения лестницы в зависимости от породы дерева и сорта изделия приблизительно можно купить по следующей цене:

Различные виды деревянных балясин
Устанавливаем балясины для лестницы из дерева самостоятельно
Балясины для лестницы из дерева способны украсить любой интерьер Красивая лестница может до неузнаваемости преобразить любое помещение. Она моментально сделает интерьер изысканным и стильным. Немаловажную роль в этом играют балясины, которые не только украшают лестницу, но и являются главным опорным элементом перил. Они могут быть изготовлены из металла, стекла, гипса, пластика, но балясины для лестницы из дерева по праву считаются самыми популярными. Насчитывается сотни разных видов балясин, начиная от простых гладких деревянных столбиков, и заканчивая витиеватыми резными колоннами. Особенно ценятся изделия ручной работы, поскольку каждая такая балясина представляет собой настоящее произведение искусства.
Какую роль играет деревянная лестница с балясинами в помещении
Лестница предназначена для перемещения между этажами, поэтому в первую очередь, она должна быть удобной для всех членов семьи. Особенно тщательно нужно продумывать ее конструкцию, когда среди домочадцев есть пожилые люди или маленькие дети.
Деревянная лестница с балясинами должна быть безопасной и комфортной
Есть несколько правил, которыми следует руководствоваться при проектировании лестницы:
- Оптимальное расстояние между двумя балясинами составляет 15 сантиметров. При наличии в доме маленьких детей, его следует сократить до 10 сантиметров.
- Высота опор вместе с поручнями должна составлять 90 сантиметров или немного больше.
- Балясины изготавливаются только из твердых пород дерева, которые запросто выдержат человека, весящего около 100 кг, если он в полную силу облокотится на перила.
- Опоры нужно прочно закреплять сверху и снизу.
- Для детей желательно устанавливать дополнительные невысокие перила, в зависимости от роста ребенка.
Профессиональные строители рекомендуют использовать балясины из одной породы дерева, изготовленные одной партией.
Установка балясин на деревянную лестницу своими руками: основные правила
В зависимости от конструкционных особенностей деревянной лестницы, опоры могут быть установлены на тетиву или непосредственно на ступеньки (если лестница на косоурах). Для начинающего мастера главное правильно произвести разметку и точно рассчитать количество требуемого материала, тогда монтаж балясин займет считанные часы, а эксплуатироваться ограждение будет длительное время, не требуя ремонта.
Процесс установки балясин на деревянную лестницу
Процесс монтажа можно условно разделить на несколько этапов:
- Сначала закрепляются опорные столбы наверху и внизу лестницы, а также на площадках.
- Далее нужно наметить места, где будут крепиться балясины (они должны быть на одинаковом расстоянии друг от друга). Желательно в ступенях закрутить маленькие саморезы и протянуть через них веревку.
- На нижней стороне балясин следует наметить центр, а затем высверлить отверстие для крепежного элемента.
- Если опора устанавливается под уклоном, то нужно сначала сделать косой срез ее нижней части.
- В балясины вставляются крепежные элементы и надежно фиксируются с помощью клея.
- В ступеньках или тетиве сверлят отверстия нужного диаметра, а затем сверху накручивают опоры.
- Верхняя часть балясин обрезается под углом, а затем на нее крепятся перила.
Чтобы не испортить балясину при распиливании, рекомендуется обмотать вокруг места среза строительный скотч.
Советы от мастеров: как закрепить балясины на деревянной лестнице
От качества крепления будет зависеть безопасная эксплуатация лестницы. Если все элементы конструкции будут надежно и прочно закреплены, то она выдержит любые нагрузки в течение длительного времени.
Балясины на деревянной лестнице должны быть прочно закреплены
Существует три традиционных способа крепления опор к лестнице:
- На шкантах. В балясине и ступеньке высверливается отверстие под шканты (деревянные стержни, толщиной около 15 мм). Затем опоры фиксируются в ступенях с помощью строительного клея ПВА. До полного его высыхания нужно следить, чтобы кто-то случайно не сдвинул опору.
- На шпильках. В ступенях и в центре опоры просверливаются отверстия (глубиной до 8 сантиметров) под специальные шпильки (диаметр 0,8 – 1 см), покрытые защитным слоем против коррозии. Опоры просто накручиваются на шпильки. Желательно их фиксировать строительным ПВА или столярным клеем.
- На саморезы. Этот способ является самым простым и быстрым, но профессиональные мастера его используют не слишком часто. Балясину устанавливают вертикально и сбоку под углом приблизительно 45-60 0 вкручивают длинный саморез по дереву, покрытый антикоррозийным слоем. Его шляпку нужно слегка утопить в дерево и потом заделать клеем с опилками или одеть на нее специальную заглушку в тон древесины.
Опытные мастера категорически не рекомендуют крепить балясины на гвозди, поскольку со временем конструкция может начать скрипеть и расшатываться, а древесина потрескается.
Оптимальные размеры балясины для лестниц из дерева твердых пород
Большой популярностью пользуются балясины в виде округлых обтекаемых колонн с резными узорами и без них. Рекомендуемая толщина составляет от 30х30 см до 100х100 см. Устанавливать опоры большей толщины не имеет смысла, поскольку они будут смотреться слишком громоздко и займут много места на лестнице. Стандартная высота балясин составляет 900 мм, но если изделия изготавливаются под заказ или своими руками, то ее можно увеличить.
Стандартная высота балясин составляет 900мм
Дизайн некоторых лестниц предусматривает установку плоских деревянных балясин. Они смотрятся достаточно оригинально и необычно. Иногда они образуют целые узорчатые массивы, от которых нельзя отвести глаз. Их толщина должна быть не менее 2 см, а ширина – произвольная.
От толщины балясины прочность всей конструкции абсолютно не зависит, поэтому нужно выбирать изделия, которые будут гармонировать с общим стилем лестницы или с интерьером.
Чем отличаются балясины для лестниц из дуба от другой древесины
Для изготовления балясин и опорных столбов применяют только древесину твердых пород, для того чтобы конструкция прослужила как можно дольше и была безопасной в эксплуатации.
При изготовлении балясины используют древесину только одной породы
Самыми популярными являются такие породы деревьев:
- Дуб. Дубовая древесина отличается красивым цветом и рисунком, высокой прочностью и длительным сроком эксплуатации. Дубовые опоры не деформируются от высоких и низких температур, а также повышенной влажности. Дуб очень ценится мастерами, которые занимаются изготовлением балясин своими руками, поскольку на его древесине можно вырезать тончайшие завитки и мелкие детали.
- Бук. Буковая древесина практически ничем не уступает дубовой, но имеет один существенный недостаток: она не выносит высокой влажности и без специальной обработки быстро приходит в негодность.
- Береза. Березовая древесина при правильной обработке может прослужить долгие годы в сухом помещении с постоянно поддерживаемой одинаковой температурой. Но в других случаях она быстро растрескивается или деформируется.
- Ясень. Древесина ясеня по качественным показателям хуже дуба или бука, но она устойчива к высокой влажности и имеет красивый рисунок.
- Сосна. Соснова древесина легко обрабатывается, обладает приятным смолистым ароматом и хорошо переносит колебания температур. Кроме того, она выделяет в воздух фитонциды, обладающие антибактериальным действием. Древесный рисунок выражен нечетко. Со временем сосновые балясины могут потемнеть.
- Лиственница. Древесина лиственницы обладает высокой прочностью, за счет содержания оптимального состава смол.
Древесина дуба является самой дорогой из всех представленных на рынке пород дерева. Но ее цена вполне оправдана долгим сроком эксплуатации, который составляет сто и более лет. А неповторимый древесный рисунок сделает шикарной даже самую простенькую лестницу.
Как выглядит деревянная лестница с коваными балясинами в интерьере
Дерево и металл отлично сочетаются друг с другом, поэтому деревянная лестница с коваными перилами будет смотреться в интерьере очень органично. Преимущество этого тандема в том, что такую конструкцию можно устанавливать не только в помещении, но и на улице. Металл не боится мороза и жары, вредителей, высокой влаги и способен выдерживать большие нагрузки, не деформируясь.
Кованые балясины со всевозможными завитками и переплетениями линий смогут украсить интерьер не только загородного дома или дачи, но и кафе или ресторана.
Деревянная лестница с кованными балясинами в интерьере выглядит очень эффектно
Заказывать кованые перила необходимо, когда лестница уже готов, чтобы они полностью подходили по размерам.
Металлические балясины могут крепиться:
- На саморезы;
- На специальные шарниры.
Как собственноручно закрепить балясины на деревянной лестнице (видео)
Установка и крепление балясин, с первого раза может показать нелегким делом, но соблюдая все советы мастеров и пошаговые инструкции, даже непрофессиональный строитель быстро добьется успехов. Правильно подобранные балясины преобразят интерьер до неузнаваемости, а лестница станет предметом гордости хозяев дома.
Шикарные балясины для лестницы из дерева (фото примеров)
Как сделать балясины своими руками: пошаговая инструкция
Такой важный элемент лестничной конструкции, как балясины, можно сделать своими руками. Для того чтобы всё получилось идеально, необходимо подготовить специальные инструменты, а также разработать подробный чертеж и схему установки готовых изделий.
Особенности изделий и их функции
Балясины являются основой для установки ограждений на лестницах и площадках. Если вы делаете все работы своими руками, вы можете создать и эти декоративные элементы.
Балясины выполняют несколько функций в составе лестничной конструкции:
- служат опорой для перил;
- защищают от падения со ступеней;
- декоративная функция.
Для классических моделей используется точение балясин. Они состоят из нескольких частей:
- опора — служит для поддержания перил и поручней;
- центральная часть — фигурные элементы изделия;
- основание — место, предназначенное для соединения балясины с лестницей или полом.

Одна из функций балясины — защита от падения со ступеней
Центр у всех изделий должен быть одинаковым, это предусматривает чертеж. Основание и опора могут отличаться. Их высота устанавливается в зависимости от расположения на лестнице. Так проще выставить уровень для монтирования перил. Высота балясин обычно устанавливается на уровне 90 см, еще 10 см отводится на перила, общая высота конструкции должна составлять 1 метр.
Используемые материалы
Для того чтобы сделать своими руками качественные балясины, используют два основных типа материалов: дерево и металл. Также можно вылить их из бетона, но это более затратный метод, и он больше подходит для наружных монолитных строений. Если вы решили создать деревянные элементы, лучше всего использовать прочные и плотные по структуре породы:
Благодаря повышенной прочности вам удастся сократить толщину изделия и создать более изящный самодельный элемент.

Дуб — идеальный прочный материал для изготовления балясин
Высота деревянных изделий регулируется гораздо проще и легко изменяется. Самый популярный вид — объемные точеные модели. В таком случае важно подготовить чертеж. В нём указываются высота, толщина изделия, а также отдельно расписываются параметры каждого элемента. В итоге получается не схематический рисунок, а практически точное художественное изображение, на которое ориентируется станок.
Для металлических моделей лучше всего использовать нержавейку, алюминий или железо, покрытое защитным слоем краски.
Деревянные балясины
Для того чтобы сделать своими руками деревянные балясины, можно воспользоваться несколькими приемами. Самый простой — нарезка планок с подходящим диаметром сечения. В зависимости от дизайнерских предпочтений для этой цели можно использовать круглые или стандартные прямоугольные балки. Для основных опор нужно использовать балки с большим сечением. Промежуточные же элементы можно изготовить из более тонкого материала. Также можно попробовать создать фигурное изделие, используя отдельные фрагменты: кубики, прямые планки, круглые шары и т. д. Они фиксируются между собой металлическими шпильками.

Самым красивым и сложным вариантом изготовления балясин считают резной
Другой вариант — плоские балясины. Чтобы сделать их своими руками, вам понадобится чертеж, на основе которого будет изготовлено лекало. В качестве материала в данном случае используются листы фанеры. Из них вырезаются спроектированные элементы. Конечно же, по прочности плоские опоры уступают объемным моделям.
Самый сложный вариант — резная и точеная балясина. Для неё понадобится тщательно продуманный чертеж с обозначением не только размеров фрагментов, но и подбором конкретных насадок. Так как самодельный узор сложно сделать одинаковым, лучше всего выточить балясину на специальном станке.

Подготовка разметки и изготовление шаблона для точения балясин
В производственных условиях процесс может быть компьютеризирован. В домашних же приходится полагаться лишь на себя, станок и заготовленный чертеж. Оптимальный вариант — изготовление балясин ручным фрезером. Это небольшой по размеру станок, напоминающий дрель. Поэтому можно воспользоваться некой альтернативой и изготовить самодельный станок для вытачивания балясин из обычной дрели. Важно правильно зафиксировать инструмент, чтобы с ним было удобно работать.
Металлические балясины
Второй по популярности вариант — металлические опоры. Как сделать металлические балясины своими собственными руками? Прежде всего, естественно, проработайте чертеж. Обычно он сводится к максимально простому определению базовых параметров, таких как высота и толщина. Обычно для них берутся трубы из нержавейки и нарезаются на нужные фрагменты.
Для изготовления фигурных ограждений вам понадобится самодельный станок для ковки. Сделать станок для выгибания балясин своими руками можно из круга и металлической заготовки-матрицы. Достаточно лишь закрепить прут и провернуть его, а станок сделает всё остальное.

Металлические балясины для лестницы — популярны в частном строительстве
Как установить ограждение?
Для того чтобы установить балясины. используют саморезы и шканты. Первый способ подходит для металлических ограждений, второй же будет оптимальным для дерева. Важно учитывать такой параметр, как высота балясин, так как сверху предусматривается установка перил .
Заранее проработайте чертеж для установки ограждения, чтобы убедиться, что балясины образуют ровный и приятный рисунок в просветах.
Для фиксации деревянных опор при использовании шкантового метода нужно подготовить углубление в тетиве или подбалясеннике. Деревянная заглушка соединяет обе части посредством вхождения в паз. Высота шканта должна соответствовать высверленному отверстию. Плоские детали можно заранее выточить таким образом, чтобы снизу оставался шип для монтажа на клей.

Схематическое изображение установки деревянных балясин
Также можно использовать металлические вворачиваемые шпильки. С их помощью лучше устанавливать объемные, а не плоские детали. Важно разместить крепление точно по центру столба.
Самодельный элемент ограждения — это особое украшение для лестницы. На самом деле выточить балясины под силу каждому домашнему умельцу.
Источники: http://proekt-sam.ru/rezba/balyasiny-iz-dereva-dlya-lestnicy.html, http://kitchenremont.ru/remont/lestnitsy/balyasiny-dlya-lestnitsy-iz-dereva, http://vseolestnicah.ru/elementy-i-komplektuyushhie/balyasiny-svoimi-rukami.html
lestnica-mpl.ru
Установка балясин на деревянную лестницу своими руками
Деревянные балясины – это декоративно-защитный элемент лестничной конструкции. Несомненно, именно стойки ограждения задают стиль и делают лестницу привлекательной и оригинальной.
Смонтированные балясины и перила деревянной лестницыНа балясины возлагаются следующие задачи:
- ограждение лестничного марша;
- обеспечение комфортного и безопасного передвижения;
- выполнение функции опоры для поручней и перил;
- придание внешней и стилистической завершенности конструкции.
Содержание материала
Требования к лестничным перилам
Проект лестничной конструкции протяженностью более пяти ступеней должна иметь ограждение. Существуют строительные нормы и требования, соблюдение которых сделают лестницу безопасной и защитят от случайного падения:
- Просветы между балясинами должны быть не менее 15 см.
- Если в доме есть маленькие дети желательно уменьшить расстояние между балясинами до 10 см.
Чертеж с размерами для установки балясин - Крепление стоек нужно осуществлять в двух местах — к поручням и лестнице.
- Оптимальная высота перил должна быть не меньше 0,9 м.
- Если не получается соблюсти рекомендованное расстояние между балясинами, расположенными по одной на ступени, нужно установить по две стойки на одной ступени.
- Поручни должны быть удобными для эксплуатации – иметь гладкую поверхность, но не быть скользкими.
- Поручень в начале и конце нужно крепить на более массивные боковые стойки-опоры.
Конструктивные особенности балясин
Деревянную балясину условно делят на три части:
- Основание. Нижняя опорная часть стойки, изготавливается с запасом длины, для подгонки и крепления изделия.
- Центральная часть. Самая красивая составляющая балясины, несущая декоративно-эстетическую функцию. Часто украшается резьбой от простых узоров до скульптурных форм.
Схема для монтажа балясин - Опора для поручня и перил. Эта часть стоек крепиться на подперильник и перила.
Деревянные балясины производят из разных сортов древесины, и они могут иметь самую фантазийную форму, различное сечение и толщину.
Прежде всего можно выделить следующие виды балясин:
- Плоские — изготавливаются из доски или фанеры.
- Простые стойки – отрезки определенного размера с круглым или квадратным сечением.
- Фигурные и точеные – обработка деревянных стоек осуществляется по шаблону на станках.
- Резные – являются самыми сложными и декоративными резными балясинами, нередко ручной работы.
Выбор древесины для балясин
Чтобы в будущем лестничная конструкция не деформировалась, все ее элементы следует выполнять из одной древесины, желательно твердых сортов. Для балясин используют следующие породы дерева:
- Лиственница.
Из этой прочной древесины получаются очень надежные изделия не подверженные гниению и устойчивые к влаге. Однако нужно соблюдать осторожность во время сушки возможно появление трещин. - Сосна. Древесина прекрасно режется и шлифуется, устойчива к грибковым заболеваниям и температурным перепадам. Стоимость деревянных изделий из сосны очень демократична.
- Ясень. Дерево прекрасно гнется и практически не деформируется. Ясень очень прочен и долговечен, выдерживает значительные нагрузки.
- Бук. Древесина имеет красивый рисунок и прекрасно поддается обработке.
- Дуб. Деревянную лестницу из дуба отличает прочность, долговечность и роскошный внешний вид. Изделия из дуба устойчивы к влаге, не коробятся и не трескаются. Лестница из дуба украшенная такими же балясинами может пережить не одно поколение.
Так выглядят балясины из дуба
Крепление балясин к лестнице
Установка балясин своими руками может осуществляться на следующие конструктивные элементы лестницы:
- на лестничную площадку;
- на тетиву или на косоур;
- на ступени.
Тетива и косоур – несущие наклонные балки и основные элементы лестницы. Тетива — это наклонная доска, установленная по бокам ступеней. В специальные пазы тетивы устанавливаются и удерживаются ступени лестницы.
Установить стойки на такую конструкцию можно непосредственно на тетиву. Если размеры тетивы не подходят для основания балясин используется специальная доска – подбалясина. С ее помощью увеличивают ширину тетивы.
Подробная схема для крепления балясин к лестницеЛестницу на тетивах обычно используют в больших помещениях, потому что она массивна и занимает достаточно много места. Более компактными являются лестницы на косоурах. В этом случае монтаж ступеней лестницы осуществляется поверх балки на гребневом креплении. Торцевые края ступеней при этом свободны и видны.
Для надежности косоур нужно закрепить не только по краям, но и посередине лестницы. Деревянные балясины в этом случае можно крепить в косоур прямо через ступени.
Проще всего устанавливать балясины своими руками на площадку лестницы или ступени. В первом случае крепление осуществляется на подбалясную доску с помощью шпилек. Произвести монтаж на ступени можно несколькими способами.
Вернуться к оглавлениюСпособы крепления балясин
Монтаж балясин своими руками – процесс достаточно ответственный. От надежности и правильности установки будет зависеть безопасность эксплуатации лестницы. Особое внимание нужно уделить верхним и нижним опорным стойкам, а также надежно закрепить промежуточные балясины. Стоит учитывать, что люди могут облокачиваться на поручни, поэтому ограждение лестницы должно быть зафиксировано прочно.
Крепление балясин осуществляют:
- на шпильках;
- на шкантах;
- на саморезах.
Монтаж на шпильки
Устанавливать балясины своими руками можно на стальные шпильки. Крепить стойки на деревянную лестницу желательно на оцинкованные изделия длиной около 10 см и толщиной 8 мм.
Подготовка балясин
Подготовительный процесс установки деревянных балясин включает следующие пункты:
- Лестницу вместе с перилами, балясинами и другими деталями шлифуют, шпаклюют и пропитывают деревянную поверхность специализированными защитными средствами.
- На балясинах и крайних опорах строго по центру и под прямым углом дрелью высверливаются осевые отверстия глубиной 6-8 см. Для точной центровки можно использовать направляющий брусок с размерами под нижний торец балясины. В центре бруска насквозь просверливается отверстие.
- Направляющий брусок надевается на сверло и вместе с дрелью жестко фиксируется на твердую горизонтальную поверхность, например на доску или лист ДСП. Балясины двигают к сверлу, и полученные отверстия будут располагаться ровно по осевой линии.
- В подготовленные отверстия нужно установить шпильки, для надежности их можно крепить на клей. Снаружи должно остаться примерно 5-7 см шпильки.
Крепление балясин к ступеням
Крепление балясин к ступеням на шкантыУстановка стоек к степеням лестницы будет осуществляться следующим образом:
- В верхнюю и нижнюю ступень вкручивается саморез, между ними туго натягивается монтажная нить. По нити, с помощью угольника и учетом рекомендованного расстояния между балясинами, на каждой ступени отмечается осевой центр установки шпилек.
- Высверливаются неглубокие отверстия для шпилек сверлом 5 мм. Чтобы отверстия были строго вертикальными желательно воспользоваться специальной насадкой для дрели, которая предназначена для сверления перпендикулярных отверстий.
- Подготовленные балясины вкручиваются в ступень до полной устойчивости.
- Вертикальность стоек проверяют с помощью уровня.
- К крайним стойкам на нужной высоте и параллельно лестничному маршу скотчем крепиться рейка. На верхних частях балясин по рейке прочерчиваются линии карандашом или маркером.

- Все балясины подрезаются по отметкам.
- Когда стойки лестницы срезаны под нужным углом, можно установить подперильную рейку. Крепить ее нужно к каждой балясине на саморезы по дереву.
- В завершении производится монтаж поручня.
Крепление балясин к косоурам и тетиве
Установка балясин на косоуры схожа с предыдущим методом, кроме некоторых этапов:
- Подготавливаются отверстия в ступенях прямо над опорной балкой, так чтобы просверлить ступень и достать до косоура;
- Подготовленные балясины со шпильками нужно установить в косоур примерно посередине. В противном случае крепление близко к краю балки может повредить дерево;
- Дальше производиться крепление стоек к подперильнику и устанавливается поручень.
Если монтаж будет производиться на тетиву, основание балясин спиливается в соответствии с углом наклона лестницы.
Пример крепления балясин под наклоном к лестницеКрепление на тетиву осуществляется шпильками на шарнирах (ввертными петлями) чтобы не возникло проблем с углом наклона крепления.
Крепление на шканты
Так как вес перил приходится в основном на опорные стойки, промежуточные балясины также можно устанавливать на шканты — округлые деревянные шипы.
Монтаж на шканты включает следующие действия:
- Разметка ступеней и основания балясин.
- Просверливание отверстий под половину длины шканта в ступени и торце балясины.
- Отверстия заполняются клеем ПВА.
- Установка шипов в отверстия ступени и крепление стоек на шкант.
- После истечения 2 — 3 часов клей схватится и можно устанавливать перила.
- Поручни к балясинам также можно крепить на шканты аналогичным образом.
Пример крепления балясин на шканты
Установка на саморезы
Самый простой способ установить стойки лестницы своими руками – использовать саморезы по дереву. Конструкция получается достаточно надежной и долговечной.
- Сначала нужно подготовить балясины, для этого в стойки вкручиваются саморезы под углом, пока не покажется торчащий острый кончик самореза на несколько миллиметров.
- Балясины устанавливаются по разметке на ступени, и саморез ввинчивается до конца.
- Крепить саморез нужно до утапливания шляпки, а получившееся углубление замазывают шпаклевкой по дереву.
Крепление крайних опорных стоек
Надежная фиксация особенно важна для крайних опор, именно на них приходится основной вес конструкции перил. Их установка может производиться двумя известными способами:
- «Глухарем». Для данного способа крепления в опорной части столба сбоку вырезается паз особой формы, в который вкручивается «глухарь» — разновидность болта. Толщина «глухаря» будет зависеть от массивности опоры. Трудоемкость такого крепления заключается в изготовлении выемки с косым углом, которая не должна повлиять на прочность опоры;
- Байонетной гайкой. В нижней части опоры готовиться небольшой вырез, и стойка прикручивается к ступени или полу с помощью байонетной гайки, которая завинчивается специальным ключам.

Устанавливать опорные столбы обоими способами достаточно трудоемко, потребуется терпение, так как работа практически ювелирная. Закрепить балясины на деревянную лестницу своими руками не так уж сложно. Главное ответственно подойти к монтажным работам и тогда лестница будет выглядеть превосходно, и соответствовать всем требованиям безопасности.
proekt-sam.ru










Самые красивые, дорогие и эстетически совершенные изделия производятся на современных станках ЧПУ, которые позволяют воспроизвести любую форму стойки с помощью 3D-моделирования. Своими руками изготавливать резные балясины достаточно трудоемко, хотя и увлекательно.



Самые красивые, дорогие и эстетически совершенные изделия производятся на современных станках ЧПУ, которые позволяют воспроизвести любую форму стойки с помощью 3D-моделирования. Своими руками изготавливать резные балясины достаточно трудоемко, хотя и увлекательно.


Самые красивые, дорогие и эстетически совершенные изделия производятся на современных станках ЧПУ, которые позволяют воспроизвести любую форму стойки с помощью 3D-моделирования. Своими руками изготавливать резные балясины достаточно трудоемко, хотя и увлекательно.


Чертеж с размерами для установки балясин
Схема для монтажа балясин
Из этой прочной древесины получаются очень надежные изделия не подверженные гниению и устойчивые к влаге. Однако нужно соблюдать осторожность во время сушки возможно появление трещин.
Так выглядят балясины из дуба
Пример крепления балясин на шканты